Erfahrungen & Bewertungen zu Cerberus Kaminhaus GmbH
+10 Jahre Erfahrung
Original Ersatzteile mit Qualitätssiegel
Geprüfter Onlineshop
+10 Jahre Erfahrung

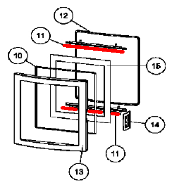
Austroflamm Chester Compact Scheibenhalter Dichtung

nur 20,76 €
Inhalt: 1 Meter

inkl. MwSt. zzgl. Versandkosten

Vorrätig, Lieferzeit 2-4 Tage


  • Persönliche Fachberatung für alle Ihre Fragen
  • Original Ersatzteil in geprüfter Qualität
  • 14 Tage Geld zurück Garantie für Ihre Bestellung

Weitere Informationen zum Produkt

  • 01021485


Haben Sie Fragen zu diesem Artikel?
Gerne stehe ich Ihnen zur Verfügung und beantworte Ihre Fragen:
Niklas Suter
(040) 28 48 48 - 210
Formular Ersatzteilanfrage
Dichtung für Scheibenhalter für den Kaminofen Austroflamm Chester Compact Diese... mehr
Produktinformationen "Austroflamm Chester Compact Scheibenhalter Dichtung"

Dichtung für Scheibenhalter für den Kaminofen Austroflamm Chester Compact

  • Diese Dichtschnur ist zwischen Glas und Glashaltern positioniert
  • Die Länge ist ausreichend, um die Dichtungen vom oberen und unteren Scheibenhalter auszutauschen.

Austroflamm Chester Compact Dichtung für Scheibenhalter Eckdaten:

  • Dichtband, Dichtungsband
  • Flachdichtung
  • Maße (B/H) 8 mm x 2 mm
  • Länge 1,00 m
  • selbstklebend
  • Position 11 in der Explosionszeichnung
Ersatzteilart: Dichtung
Modell: Chester
Länge in cm: 100
Typ: Compact
Weiterführende Links zu "Austroflamm Chester Compact Scheibenhalter Dichtung"
Zuletzt angesehen