Erfahrungen & Bewertungen zu Cerberus Kaminhaus GmbH
+10 Jahre Erfahrung
Original Ersatzteile mit Qualitätssiegel
Geprüfter Onlineshop
+10 Jahre Erfahrung

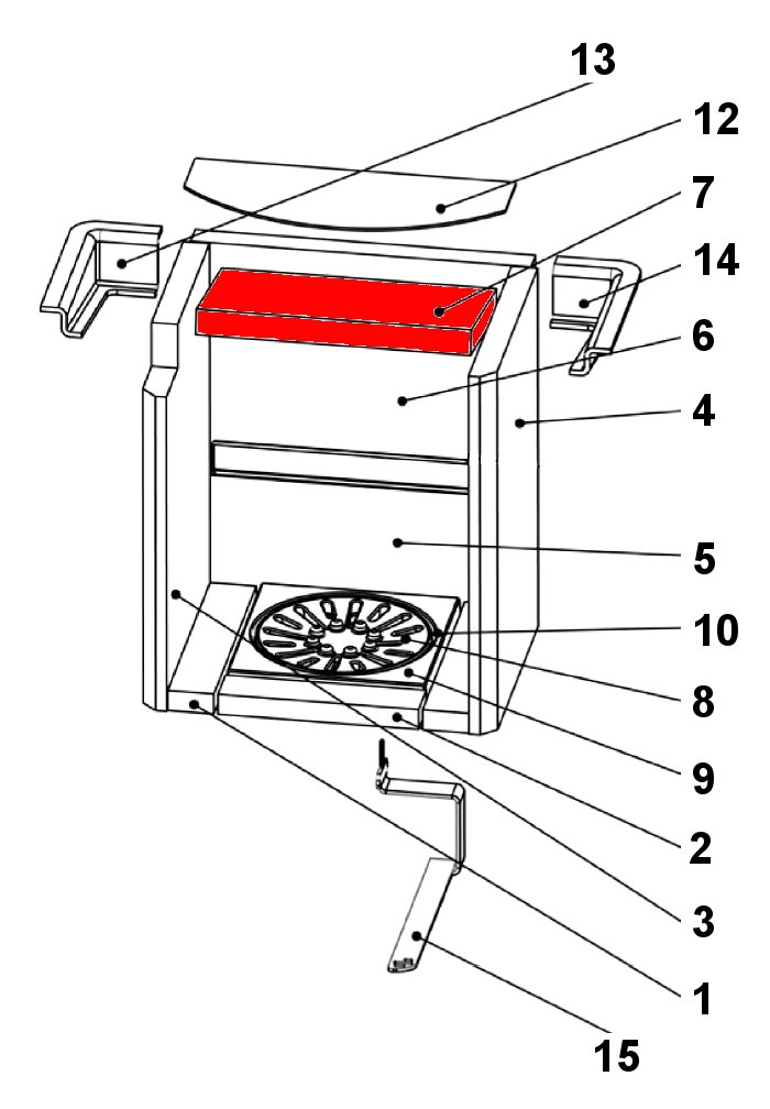
Drooff Malgrade Eck Zugumlenkung unten

nur 174,39 €
Inhalt: 1 Stück

inkl. MwSt. zzgl. Versandkosten

Lieferzeit 3-6 Wochen


  • Persönliche Fachberatung für alle Ihre Fragen
  • Original Ersatzteil in geprüfter Qualität
  • 14 Tage Geld zurück Garantie für Ihre Bestellung

Weitere Informationen zum Produkt

  • 01042655


Haben Sie Fragen zu diesem Artikel?
Gerne stehe ich Ihnen zur Verfügung und beantworte Ihre Fragen:
Niklas Suter
(040) 28 48 48 - 210
Formular Ersatzteilanfrage
Original Zugumlenkung unten für den Kaminofen Drooff Malgrade Eck Drooff Malgrade... mehr
Produktinformationen "Drooff Malgrade Eck Zugumlenkung unten"

Original Zugumlenkung unten für den Kaminofen Drooff Malgrade Eck

Drooff Malgrade Eck Zugumlenkung unten Eckdaten:

  • Rauchumlenkung, Flammenschild
  • Maße (B/L/H) 312 mm x 170 mm x 30 mm
  • Material Schamotte
  • Position 7 in der Explosionszeichnung
Ersatzteilart: Zugumlenkung
Modell: Malgrade
Material: Schamotte
Typ: Eck
Weiterführende Links zu "Drooff Malgrade Eck Zugumlenkung unten"
Zuletzt angesehen