Erfahrungen & Bewertungen zu Cerberus Kaminhaus GmbH
+10 Jahre Erfahrung
Original Ersatzteile mit Qualitätssiegel
Geprüfter Onlineshop
+10 Jahre Erfahrung
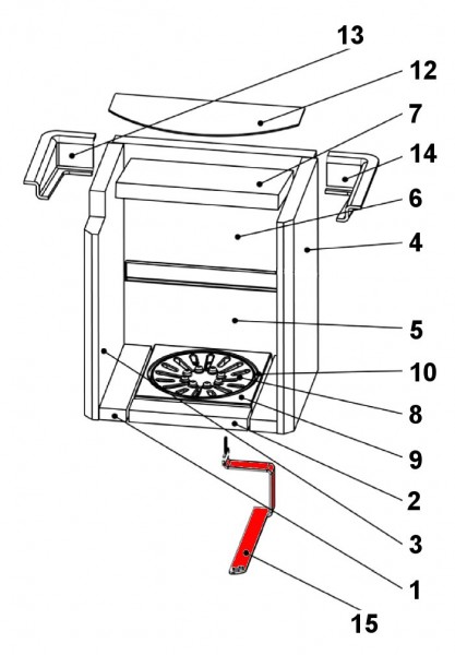
Drooff Sondrio 3 Rüttelstange

Drooff Sondrio 3 Rüttelstange

nur 83,73 €
Inhalt: 1 Stück

inkl. MwSt. zzgl. Versandkosten

Lieferzeit 3-6 Wochen


  • Persönliche Fachberatung für alle Ihre Fragen
  • Original Ersatzteil in geprüfter Qualität
  • 14 Tage Geld zurück Garantie für Ihre Bestellung

Weitere Informationen zum Produkt

  • 01004080


Haben Sie Fragen zu diesem Artikel?
Gerne stehe ich Ihnen zur Verfügung und beantworte Ihre Fragen:
Niklas Suter
(040) 28 48 48 - 210
Formular Ersatzteilanfrage
Original Rüttelstange für den Kaminofen Drooff Sondrio 3 Drooff Sondrio 3... mehr
Produktinformationen "Drooff Sondrio 3 Rüttelstange"

Original Rüttelstange für den Kaminofen Drooff Sondrio 3

Drooff Sondrio 3 Rüttelstange Eckdaten:

  • Rüttelroststange, Rüttelrechen
  • Position 15 in der Explosionszeichnung
Ersatzteilart: Rüttelstange
Modell: Sondrio
Typ: 3
Weiterführende Links zu "Drooff Sondrio 3 Rüttelstange"
Zuletzt angesehen