Erfahrungen & Bewertungen zu Cerberus Kaminhaus GmbH
+10 Jahre Erfahrung
Original Ersatzteile mit Qualitätssiegel
Geprüfter Onlineshop
+10 Jahre Erfahrung

Eurotherm Dresden Zugumlenkung links A

nur 31,21 €
Inhalt: 1 Stück

inkl. MwSt. zzgl. Versandkosten

Vorrätig, Lieferzeit 2-4 Tage


  • Persönliche Fachberatung für alle Ihre Fragen
  • Original Ersatzteil in geprüfter Qualität
  • 14 Tage Geld zurück Garantie für Ihre Bestellung

Weitere Informationen zum Produkt

  • 01003305


Haben Sie Fragen zu diesem Artikel?
Gerne stehe ich Ihnen zur Verfügung und beantworte Ihre Fragen:
Niklas Suter
(040) 28 48 48 - 210
Formular Ersatzteilanfrage
Zugumlenkung links A für den Kaminofen Eurotherm Dresden Eurotherm Dresden... mehr
Produktinformationen "Eurotherm Dresden Zugumlenkung links A"

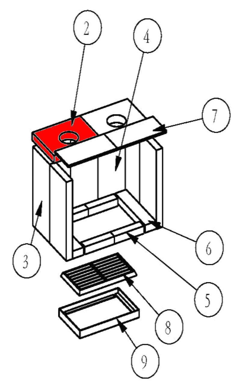
Zugumlenkung links A für den Kaminofen Eurotherm Dresden

Eurotherm Dresden Zugumlenkung links Eckdaten:

  • Rauchgasumlenkung, Prallplatte
  • Maße (B/L/H) 230 mm x 180 mm x 30 mm
  • Material Vermiculite
  • Form rechteckig
  • mit Loch
  • Position 2 in der Explosionszeichnung
Ersatzteilart: Zugumlenkung
Modell: Dresden
Form: rechteckig
Material: Vermiculite
Weiterführende Links zu "Eurotherm Dresden Zugumlenkung links A"
Zuletzt angesehen