Erfahrungen & Bewertungen zu Cerberus Kaminhaus GmbH
+10 Jahre Erfahrung
Original Ersatzteile mit Qualitätssiegel
Geprüfter Onlineshop
+10 Jahre Erfahrung

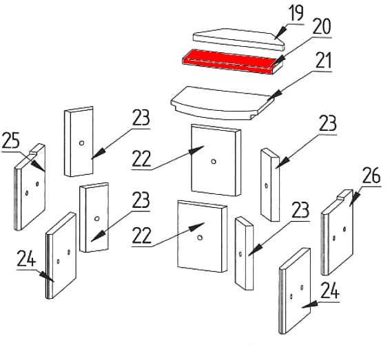
Fireplace Eden Zugumlenkung mittig

nur 34,47 €
Inhalt: 1 Stück

inkl. MwSt. zzgl. Versandkosten

Vorrätig, Lieferzeit 2-4 Tage


  • Persönliche Fachberatung für alle Ihre Fragen
  • Original Ersatzteil in geprüfter Qualität
  • 14 Tage Geld zurück Garantie für Ihre Bestellung

Weitere Informationen zum Produkt

  • 01023232


Haben Sie Fragen zu diesem Artikel?
Gerne stehe ich Ihnen zur Verfügung und beantworte Ihre Fragen:
Niklas Suter
(040) 28 48 48 - 210
Formular Ersatzteilanfrage
Original Zugumlenkung mittig für den Kaminofen Fireplace Eden Fireplace Eden... mehr
Produktinformationen "Fireplace Eden Zugumlenkung mittig"

Original Zugumlenkung mittig für den Kaminofen Fireplace Eden

Fireplace Eden Zugumlenkung mittig Eckdaten:

  • Prallplatte, Rauchumlenkung
  • Vermiculitestein
  • Maße (B/L/H) 325 mm x 96 mm x 20 mm
  • Material Vermiculite
  • Position 20 in der Explosionszeichnung
Ersatzteilart: Zugumlenkung
Modell: Eden
Material: Vermiculite
Weiterführende Links zu "Fireplace Eden Zugumlenkung mittig"
Zuletzt angesehen