Erfahrungen & Bewertungen zu Cerberus Kaminhaus GmbH
+10 Jahre Erfahrung
Original Ersatzteile mit Qualitätssiegel
Geprüfter Onlineshop
+10 Jahre Erfahrung

Dieses Ersatzteil ist nur noch 2x verfügbar.

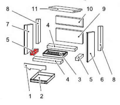
Haas+Sohn Herborn 295.15 Bodenstein links

nur 23,34 €
Inhalt: 1 Stück

inkl. MwSt. zzgl. Versandkosten

Vorrätig, Lieferzeit 2-4 Tage


  • Persönliche Fachberatung für alle Ihre Fragen
  • Original Ersatzteil in geprüfter Qualität
  • 14 Tage Geld zurück Garantie für Ihre Bestellung

Weitere Informationen zum Produkt

  • 01044020


Haben Sie Fragen zu diesem Artikel?
Gerne stehe ich Ihnen zur Verfügung und beantworte Ihre Fragen:
Niklas Suter
(040) 28 48 48 - 210
Formular Ersatzteilanfrage
Original Bodenstein links für den Kaminofen Haas-Sohn Herborn 295.15 Haas-Sohn... mehr
Produktinformationen "Haas+Sohn Herborn 295.15 Bodenstein links"

Original Bodenstein links für den Kaminofen Haas-Sohn Herborn 295.15

Haas-Sohn Herborn 295.15 Bodenstein links Eckdaten:

  • Brennraumstein, Feuerraumstein
  • Schamottstein
  • Maße (B/L/H) 45 mm x 154 mm x 32 mm
  • Material Schamotte
  • Position 5 in der Explosionszeichnung
Ersatzteilart: Bodenstein
Modell: Herborn
Material: Schamotte
Typ: 295.15
Weiterführende Links zu "Haas+Sohn Herborn 295.15 Bodenstein links"
Zuletzt angesehen