Erfahrungen & Bewertungen zu Cerberus Kaminhaus GmbH
+10 Jahre Erfahrung
Original Ersatzteile mit Qualitätssiegel
Geprüfter Onlineshop
+10 Jahre Erfahrung
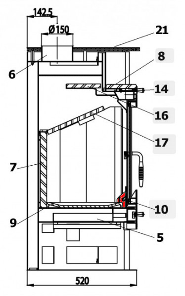
Haas+Sohn Siena 277.15 Stehrost

Haas+Sohn Siena 277.15 Stehrost

nur 45,61 €
Inhalt: 1 Stück

inkl. MwSt. zzgl. Versandkosten

Lieferzeit 3-6 Wochen


  • Persönliche Fachberatung für alle Ihre Fragen
  • Original Ersatzteil in geprüfter Qualität
  • 14 Tage Geld zurück Garantie für Ihre Bestellung

Weitere Informationen zum Produkt

  • 01010982


Haben Sie Fragen zu diesem Artikel?
Gerne stehe ich Ihnen zur Verfügung und beantworte Ihre Fragen:
Niklas Suter
(040) 28 48 48 - 210
Formular Ersatzteilanfrage
Original Stehrost für den Kaminofen Haas-Sohn Siena 277.15 Haas-Sohn Siena 277.15... mehr
Produktinformationen "Haas+Sohn Siena 277.15 Stehrost"

Original Stehrost für den Kaminofen Haas-Sohn Siena 277.15

Haas-Sohn Siena 277.15 Stehrost Eckdaten:

  • Glutfang, Rostreling
  • Maße (B/L) 294 mm x 100 mm
  • Position 10 in der Explosionszeichnung
Ersatzteilart: Stehrost
Modell: Siena
Typ: 277.15
Weiterführende Links zu "Haas+Sohn Siena 277.15 Stehrost"
Zuletzt angesehen