Erfahrungen & Bewertungen zu Cerberus Kaminhaus GmbH
+10 Jahre Erfahrung
Original Ersatzteile mit Qualitätssiegel
Geprüfter Onlineshop
+10 Jahre Erfahrung
Haas+Sohn Siena 277.17 Aschekasten

Haas+Sohn Siena 277.17 Aschekasten

nur 117,32 €
Inhalt: 1 Stück

inkl. MwSt. zzgl. Versandkosten

Lieferzeit 3-6 Wochen


  • Persönliche Fachberatung für alle Ihre Fragen
  • Original Ersatzteil in geprüfter Qualität
  • 14 Tage Geld zurück Garantie für Ihre Bestellung

Weitere Informationen zum Produkt

  • 01010780


Haben Sie Fragen zu diesem Artikel?
Gerne stehe ich Ihnen zur Verfügung und beantworte Ihre Fragen:
Niklas Suter
(040) 28 48 48 - 210
Formular Ersatzteilanfrage
Original Aschekasten für den Kaminofen Haas-Sohn Siena 277.17 Haas-Sohn Siena... mehr
Produktinformationen "Haas+Sohn Siena 277.17 Aschekasten"

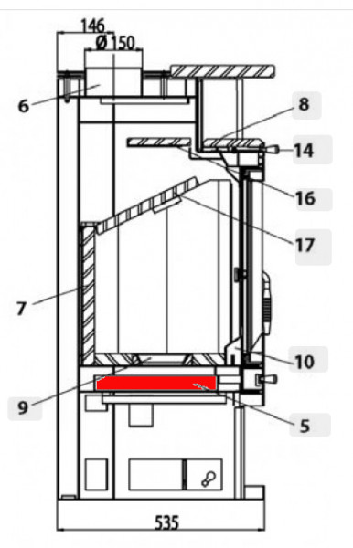
Original Aschekasten für den Kaminofen Haas-Sohn Siena 277.17

Haas-Sohn Siena 277.17 Aschekasten Eckdaten:

  • Ascheschublade, Aschetresor
  • Maße (B/L) 340 mm x 320 mm
  • Position 5 in der Explosionszeichnung
Ersatzteilart: Aschekasten
Modell: Siena
Typ: 277.17
Weiterführende Links zu "Haas+Sohn Siena 277.17 Aschekasten"
Zuletzt angesehen