Erfahrungen & Bewertungen zu Cerberus Kaminhaus GmbH
+10 Jahre Erfahrung
Original Ersatzteile mit Qualitätssiegel
Geprüfter Onlineshop
+10 Jahre Erfahrung

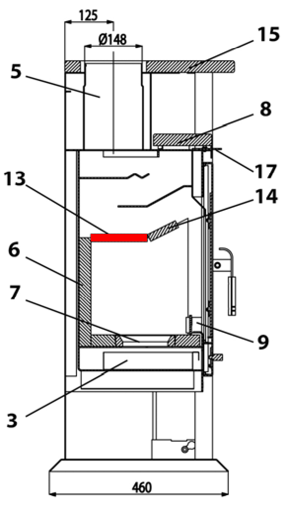
Haas+Sohn Viterbo 3 275.15 Zugumlenkung hinten

nur 145,00 €
Inhalt: 1 Stück

inkl. MwSt. zzgl. Versandkosten

Vorrätig, Lieferzeit 2-4 Tage


  • Persönliche Fachberatung für alle Ihre Fragen
  • Original Ersatzteil in geprüfter Qualität
  • 14 Tage Geld zurück Garantie für Ihre Bestellung

Weitere Informationen zum Produkt

  • 01017624


Haben Sie Fragen zu diesem Artikel?
Gerne stehe ich Ihnen zur Verfügung und beantworte Ihre Fragen:
Jennifer Ladwig
Original Zugumlenkung hinten für den Kaminofen Haas-Sohn Viterbo 3 275.15 Hier... mehr
Produktinformationen "Haas+Sohn Viterbo 3 275.15 Zugumlenkung hinten"

Original Zugumlenkung hinten für den Kaminofen Haas-Sohn Viterbo 3 275.15

  • Hier wurde vom Hersteller eine Materialumstellung vorgenommen von Vermiculite zu Schamotte

Haas-Sohn Viterbo 3 275.15 Zugumlenkung hinten Eckdaten:

 

  • Rauchumlenkung, Flammenschild
  • Maße (B/L/H) 160 mm x 420 mm x 25 mm
  • Material Schamotte
  • Position 13 in der Explosionszeichnung
Ersatzteilart: Zugumlenkung
Modell: Viterbo 3
Material: Schamotte
Typ: 275.15
Weiterführende Links zu "Haas+Sohn Viterbo 3 275.15 Zugumlenkung hinten"
Zuletzt angesehen