Erfahrungen & Bewertungen zu Cerberus Kaminhaus GmbH
+10 Jahre Erfahrung
Original Ersatzteile mit Qualitätssiegel
Geprüfter Onlineshop
+10 Jahre Erfahrung

Justus Bavaria Bodenstein vorne A

nur 19,54 €
Inhalt: 1 Stück

inkl. MwSt. zzgl. Versandkosten

Vorrätig, Lieferzeit 2-4 Tage


  • Persönliche Fachberatung für alle Ihre Fragen
  • Original Ersatzteil in geprüfter Qualität
  • 14 Tage Geld zurück Garantie für Ihre Bestellung

Weitere Informationen zum Produkt

  • 01018787


Haben Sie Fragen zu diesem Artikel?
Gerne stehe ich Ihnen zur Verfügung und beantworte Ihre Fragen:
Niklas Suter
(040) 28 48 48 - 210
Formular Ersatzteilanfrage
Original Bodenstein vorne A für den Kaminofen Justus Bavaria Es gibt verschiedene... mehr
Produktinformationen "Justus Bavaria Bodenstein vorne A"

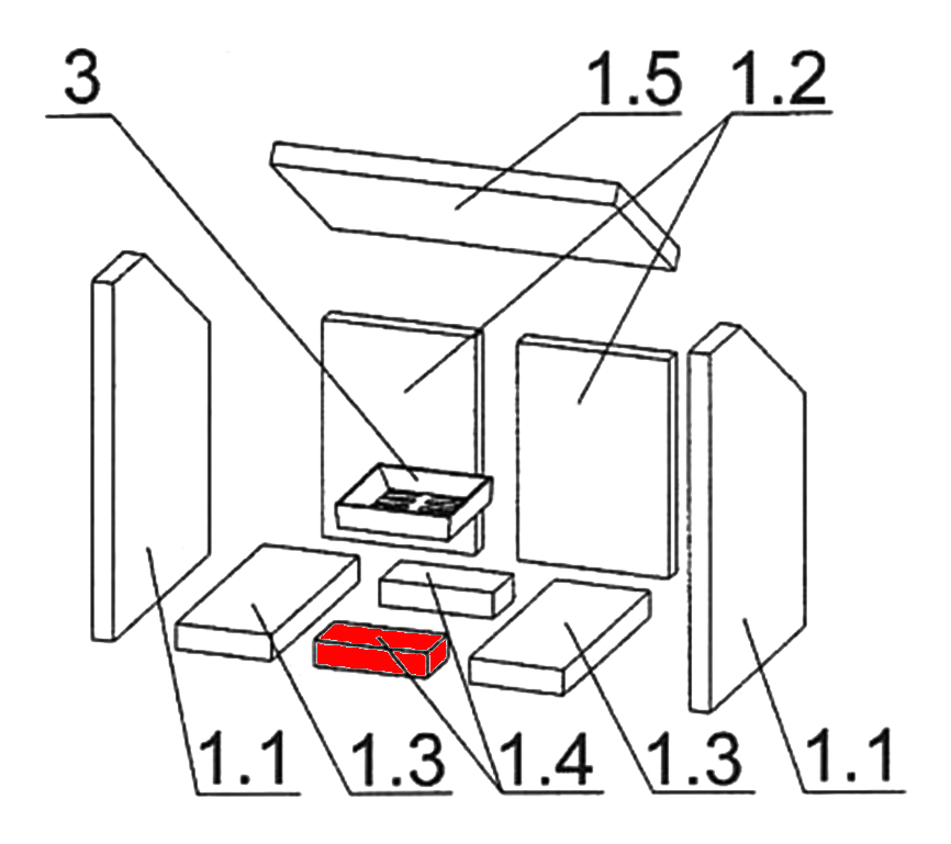
Original Bodenstein vorne A für den Kaminofen Justus Bavaria

  • Es gibt verschiedene Ausmauerungen für dieses Modell. Bitte orientieren Sie sich am Baujahr des Ofens oder an den Maßen vom Rückwandstein links
  • Erfahrungsgemäß wurde dieser Feuerraumstein bis 12/2002 verbaut und passt zum Rückwandstein links (182 x 255 mm).

Justus Bavaria Bodenstein vorne Eckdaten:

  • Brennraumstein, Feuerraumstein
  • Maße (B/L/H) 135 mm x 65 mm x 30 mm
  • Material Schamotte
  • Position 1.4 in der Explosionszeichnung
Ersatzteilart: Bodenstein
Modell: Bavaria
Material: Schamotte
Weiterführende Links zu "Justus Bavaria Bodenstein vorne A"
Zuletzt angesehen