Erfahrungen & Bewertungen zu Cerberus Kaminhaus GmbH
+10 Jahre Erfahrung
Original Ersatzteile mit Qualitätssiegel
Geprüfter Onlineshop
+10 Jahre Erfahrung

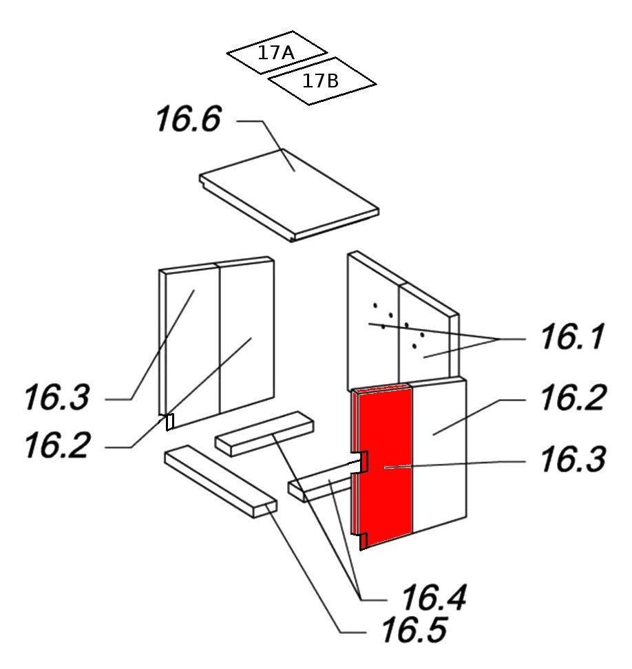
Justus Ohio Seitenstein rechts vorne B

nur 32,39 €
Inhalt: 1 Stück

inkl. MwSt. zzgl. Versandkosten

Vorrätig, Lieferzeit 2-4 Tage


  • Persönliche Fachberatung für alle Ihre Fragen
  • Original Ersatzteil in geprüfter Qualität
  • 14 Tage Geld zurück Garantie für Ihre Bestellung

Weitere Informationen zum Produkt

  • 01006769


Haben Sie Fragen zu diesem Artikel?
Gerne stehe ich Ihnen zur Verfügung und beantworte Ihre Fragen:
Sarah Hackbarth
Original Seitenstein rechts vorne B für den Kaminofen Justus Ohio Es gibt... mehr
Produktinformationen "Justus Ohio Seitenstein rechts vorne B"

Original Seitenstein rechts vorne B für den Kaminofen Justus Ohio

  • Es gibt verschiedene Ausmauerungen für dieses Modell. Bitte orientieren Sie sich an den Aussparungen der vorderen Seitensteine.
  • Erfahrungsgemäß passt dieser Feuerraumstein in den Feuerraum, dessen vordere Seitensteine Aussparungen aufweisen.

Justus Ohio Seitenstein rechts vorne Eckdaten:

  • Brennraumstein, Feuerraumstein
  • Vermiculitestein
  • Maße (B/L/H) 165 mm x 356/380 mm x 25 mm
  • Material Vermiculite
  • mit zwei Aussparungen im vorderen Bereich
  • Position 16.3 in der Explosionszeichnung
Ersatzteilart: Seitenstein
Modell: Ohio
Material: Vermiculite
Weiterführende Links zu "Justus Ohio Seitenstein rechts vorne B"
Zuletzt angesehen