Erfahrungen & Bewertungen zu Cerberus Kaminhaus GmbH
+10 Jahre Erfahrung
Original Ersatzteile mit Qualitätssiegel
Geprüfter Onlineshop
+10 Jahre Erfahrung

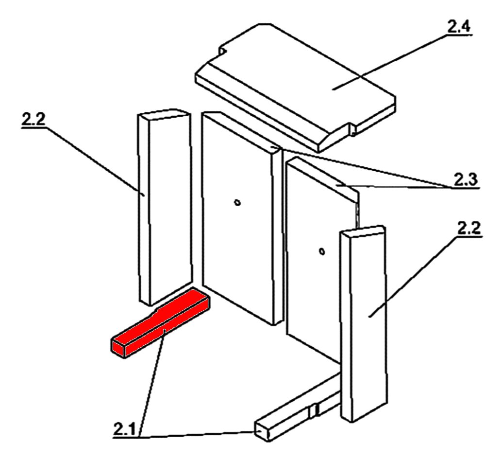
Justus Rügen Bodenstein links

nur 26,89 €
Inhalt: 1 Stück

inkl. MwSt. zzgl. Versandkosten

Vorrätig, Lieferzeit 2-4 Tage


  • Persönliche Fachberatung für alle Ihre Fragen
  • Original Ersatzteil in geprüfter Qualität
  • 14 Tage Geld zurück Garantie für Ihre Bestellung

Weitere Informationen zum Produkt

  • 01005290


Haben Sie Fragen zu diesem Artikel?
Gerne stehe ich Ihnen zur Verfügung und beantworte Ihre Fragen:
Niklas Suter
(040) 28 48 48 - 210
Formular Ersatzteilanfrage
Original Bodenstein links für den Kaminofen Justus Rügen Typ 4681, 4781 Justus... mehr
Produktinformationen "Justus Rügen Bodenstein links"

Original Bodenstein links für den Kaminofen Justus Rügen Typ 4681, 4781

Justus Rügen Typ 4681, 4781 Bodenstein links Eckdaten:

  • Brennraumstein, Feuerraumstein
  • Vermiculitestein
  • Maße (B/L/H) 38/45 mm x 255/107 mm x 30 mm
  • Material Vermiculite
  • Form rechteckig
  • Position 2.1 in der Explosionszeichnung
Ersatzteilart: Bodenstein
Modell: Rügen
Form: rechteckig
Material: Vermiculite
Typ 2: Typ 4681, 4781
Weiterführende Links zu "Justus Rügen Bodenstein links"
Zuletzt angesehen