Erfahrungen & Bewertungen zu Cerberus Kaminhaus GmbH
+10 Jahre Erfahrung
Original Ersatzteile mit Qualitätssiegel
Geprüfter Onlineshop
+10 Jahre Erfahrung

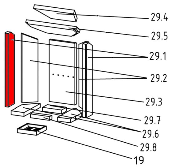
Justus Texel 5 Seitenstein links vorne

nur 26,89 €
Inhalt: 1 Stück

inkl. MwSt. zzgl. Versandkosten

Vorrätig, Lieferzeit 2-4 Tage


  • Persönliche Fachberatung für alle Ihre Fragen
  • Original Ersatzteil in geprüfter Qualität
  • 14 Tage Geld zurück Garantie für Ihre Bestellung

Weitere Informationen zum Produkt

  • 01018280


Haben Sie Fragen zu diesem Artikel?
Gerne stehe ich Ihnen zur Verfügung und beantworte Ihre Fragen:
Niklas Suter
(040) 28 48 48 - 210
Formular Ersatzteilanfrage
Original Seitenstein links vorne für den Kaminofen Justus Texel 5 Es gibt... mehr
Produktinformationen "Justus Texel 5 Seitenstein links vorne"

Original Seitenstein links vorne für den Kaminofen Justus Texel 5

  • Es gibt verschiedene Feuerraumauskleidungen für den Island 5. Bitte orientieren Sie sich an den Maßen der Brennraumsteine.
  • passend für den Feuerraum, bei dem die stehenden Seitensteine glatt sind

Justus Texel 5 Seitenstein links vorne Eckdaten:

  • Brennraumstein, Feuerraumstein
  • Maße (B/L/H) 82 mm x 480 mm x 25 mm
  • Material Grenamat
  • Position 29.1 in der Explosionszeichnung
Ersatzteilart: Seitenstein
Modell: Texel
Material: Grenamat
Typ: 5
Weiterführende Links zu "Justus Texel 5 Seitenstein links vorne"
Zuletzt angesehen