Erfahrungen & Bewertungen zu Cerberus Kaminhaus GmbH
+10 Jahre Erfahrung
Original Ersatzteile mit Qualitätssiegel
Geprüfter Onlineshop
+10 Jahre Erfahrung

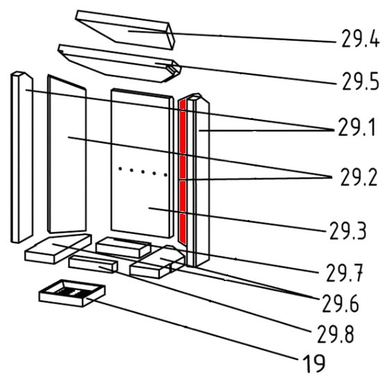
Justus Texel 5 Seitenstein rechts hinten

nur 32,21 €
Inhalt: 1 Stück

inkl. MwSt. zzgl. Versandkosten

Vorrätig, Lieferzeit 2-4 Tage


  • Persönliche Fachberatung für alle Ihre Fragen
  • Original Ersatzteil in geprüfter Qualität
  • 14 Tage Geld zurück Garantie für Ihre Bestellung

Weitere Informationen zum Produkt

  • 01019087


Haben Sie Fragen zu diesem Artikel?
Gerne stehe ich Ihnen zur Verfügung und beantworte Ihre Fragen:
Jennifer Ladwig
Original Seitenstein rechts hinten für den Kaminofen Justus Texel 5 passend für... mehr
Produktinformationen "Justus Texel 5 Seitenstein rechts hinten"

Original Seitenstein rechts hinten für den Kaminofen Justus Texel 5

  • passend für den Feuerraum, bei dem die stehenden Seitensteine glatt sind

Justus Texel 5 Seitenstein rechts hinten Eckdaten:

 

  • Brennraumstein, Feuerraumstein
  • Vermiculitesteine
  • Maße (B/L/H) 102 mm x 450 mm x 25 mm
  • Material Vermiculite
  • Position 29.2 in der Explosionszeichnung
Ersatzteilart: Seitenstein
Modell: Texel
Material: Vermiculite
Typ: 5
Weiterführende Links zu "Justus Texel 5 Seitenstein rechts hinten"
Zuletzt angesehen