Erfahrungen & Bewertungen zu Cerberus Kaminhaus GmbH
+10 Jahre Erfahrung
Original Ersatzteile mit Qualitätssiegel
Geprüfter Onlineshop
+10 Jahre Erfahrung

Dieses Ersatzteil ist nur noch 1x verfügbar.

La Nordica TermoRossella Plus Forno Thermometer B

nur 45,72 €
Inhalt: 1 Stück

inkl. MwSt. zzgl. Versandkosten

Vorrätig, Lieferzeit 2-4 Tage


  • Persönliche Fachberatung für alle Ihre Fragen
  • Original Ersatzteil in geprüfter Qualität
  • 14 Tage Geld zurück Garantie für Ihre Bestellung

Weitere Informationen zum Produkt

  • 01020034


Haben Sie Fragen zu diesem Artikel?
Gerne stehe ich Ihnen zur Verfügung und beantworte Ihre Fragen:
Niklas Suter
(040) 28 48 48 - 210
Formular Ersatzteilanfrage
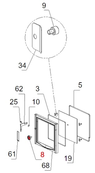
Original Thermometer für Backfachtür B für den Holzofen La Nordica TermoRossella Plus... mehr
Produktinformationen "La Nordica TermoRossella Plus Forno Thermometer B"

Original Thermometer für Backfachtür B für den Holzofen La Nordica TermoRossella Plus Forno

  • Geeignet für Geräte bis Baujahr 2017

La Nordica TermoRossella Plus Forno Thermometer für Backfachtür Eckdaten:

  • Temperaturmesser, Thermostat
  • Thermostat
  • Durchmesser 50 mm
  • Form rund
  • inklusive montierter Dichtung
  • Position 8 in der Explosionszeichnung
Ersatzteilart: Thermometer
Modell: TermoRossella
Form: rund
Typ: Plus Forno
Weiterführende Links zu "La Nordica TermoRossella Plus Forno Thermometer B"
Zuletzt angesehen