Erfahrungen & Bewertungen zu Cerberus Kaminhaus GmbH
+10 Jahre Erfahrung
Original Ersatzteile mit Qualitätssiegel
Geprüfter Onlineshop
+10 Jahre Erfahrung
Abweichende Lieferzeit. Bitte kontaktieren Sie uns.

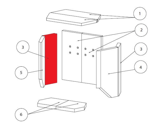
Lotus M1 Seitenstein links hinten A

nur 37,69 €
Inhalt: 1 Stück

inkl. MwSt. zzgl. Versandkosten


  • Persönliche Fachberatung für alle Ihre Fragen
  • Original Ersatzteil in geprüfter Qualität
  • 14 Tage Geld zurück Garantie für Ihre Bestellung

Weitere Informationen zum Produkt

  • 01026955


Haben Sie Fragen zu diesem Artikel?
Gerne stehe ich Ihnen zur Verfügung und beantworte Ihre Fragen:
Sarah Hackbarth
Original Seitenstein links hinten A für den Lotus M1 Der Hersteller hat die... mehr
Produktinformationen "Lotus M1 Seitenstein links hinten A"

Original Seitenstein links hinten A für den Lotus M1

  • Der Hersteller hat die Produktion dieses Artikels eingestellt. Sofern wir über einen Restbestand verfügen, ist dieses Ersatzteil bei uns erhältlich
  • nur für die M Modelle bis Baujahr 07/2006

Lotus M1 Seitenstein links hinten Eckdaten:

  • Brennraumstein, Feuerraumstein
  • Maße (B/L/H) 120 mm x 400 mm x 25 mm
  • Material Schamotte
  • Position 3 in der Explosionszeichnung
Ersatzteilart: Seitenstein
Modell: M1
Material: Schamotte
Weiterführende Links zu "Lotus M1 Seitenstein links hinten A"
Zuletzt angesehen