Erfahrungen & Bewertungen zu Cerberus Kaminhaus GmbH
+10 Jahre Erfahrung
Original Ersatzteile mit Qualitätssiegel
Geprüfter Onlineshop
+10 Jahre Erfahrung

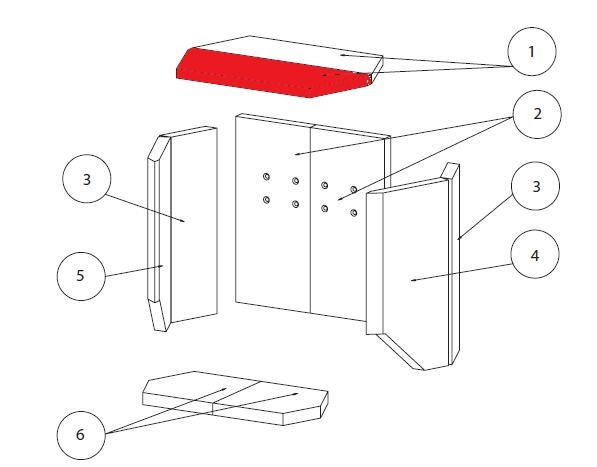
Lotus M4 Zugumlenkung hinten B

nur 85,15 €
Inhalt: 1 Stück

inkl. MwSt. zzgl. Versandkosten

Vorrätig, Lieferzeit 2-4 Tage


  • Persönliche Fachberatung für alle Ihre Fragen
  • Original Ersatzteil in geprüfter Qualität
  • 14 Tage Geld zurück Garantie für Ihre Bestellung

Weitere Informationen zum Produkt

  • 01026988


Haben Sie Fragen zu diesem Artikel?
Gerne stehe ich Ihnen zur Verfügung und beantworte Ihre Fragen:
Niklas Suter
(040) 28 48 48 - 210
Formular Ersatzteilanfrage
Original Zugumlenkung hinten B für den Kaminofen Lotus M4 nur für die M Modelle... mehr
Produktinformationen "Lotus M4 Zugumlenkung hinten B"

Original Zugumlenkung hinten B für den Kaminofen Lotus M4

  • nur für die M Modelle ab Baujahr 08/2006

Lotus M4 Zugumlenkung hinten Eckdaten:

  • Umlenkung, Flammenschild
  • Maße (B/L/H) 160 mm x 430 mm x 20 mm
  • Material Vermiculite
  • Position 1 in der Explosionszeichnung
Ersatzteilart: Zugumlenkung
Modell: M4
Material: Vermiculite
Weiterführende Links zu "Lotus M4 Zugumlenkung hinten B"
Zuletzt angesehen