Erfahrungen & Bewertungen zu Cerberus Kaminhaus GmbH
+10 Jahre Erfahrung
Original Ersatzteile mit Qualitätssiegel
Geprüfter Onlineshop
+10 Jahre Erfahrung
Olsberg Sördal Rüttelstange

Olsberg Sördal Rüttelstange

nur 39,06 €
Inhalt: 1 Stück

inkl. MwSt. zzgl. Versandkosten

Lieferzeit 3-6 Wochen


  • Persönliche Fachberatung für alle Ihre Fragen
  • Original Ersatzteil in geprüfter Qualität
  • 14 Tage Geld zurück Garantie für Ihre Bestellung

Weitere Informationen zum Produkt

  • 01000521


Haben Sie Fragen zu diesem Artikel?
Gerne stehe ich Ihnen zur Verfügung und beantworte Ihre Fragen:
Niklas Suter
(040) 28 48 48 - 210
Formular Ersatzteilanfrage
Original Rüttelstange für den Kaminofen Olsberg Sördal Olsberg Sördal Rüttelstange... mehr
Produktinformationen "Olsberg Sördal Rüttelstange"

Original Rüttelstange für den Kaminofen Olsberg Sördal

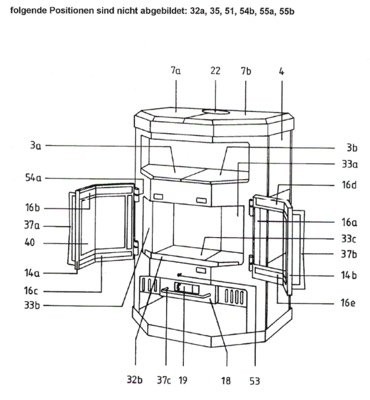
Olsberg Sördal Rüttelstange Eckdaten:

  • Rostzugstange, Rüttelrechen
  • Maße (B/L/H) 6 mm x 165 mm x 6 mm
  • Material Metall
  • Position 12D in der Explosionszeichnung
Ersatzteilart: Rüttelstange
Modell: Sördal
Material: Metall
Weiterführende Links zu "Olsberg Sördal Rüttelstange"
Zuletzt angesehen