Erfahrungen & Bewertungen zu Cerberus Kaminhaus GmbH
+10 Jahre Erfahrung
Original Ersatzteile mit Qualitätssiegel
Geprüfter Onlineshop
+10 Jahre Erfahrung

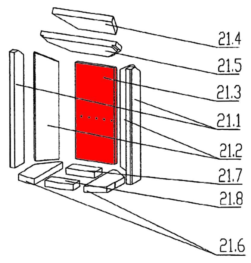
Oranier Arktis 4 Rückwandstein

nur 39,54 €
Inhalt: 1 Stück

inkl. MwSt. zzgl. Versandkosten

Lieferzeit 2-3 Wochen


  • Persönliche Fachberatung für alle Ihre Fragen
  • Original Ersatzteil in geprüfter Qualität
  • 14 Tage Geld zurück Garantie für Ihre Bestellung

Weitere Informationen zum Produkt

  • 01000750


Haben Sie Fragen zu diesem Artikel?
Gerne stehe ich Ihnen zur Verfügung und beantworte Ihre Fragen:
Niklas Suter
(040) 28 48 48 - 210
Formular Ersatzteilanfrage
Original Rückwandstein für den Kaminofen Oranier Arktis 4 Oranier Arktis 4... mehr
Produktinformationen "Oranier Arktis 4 Rückwandstein"

Original Rückwandstein für den Kaminofen Oranier Arktis 4

Oranier Arktis 4 Rückwandstein Eckdaten:

  • Brennraumstein, Feuerraumstein
  • Maße (B/L/H) 195 mm x 402 mm x 25 mm
  • Material Skamol
  • 5-fach gelocht
  • Position 3.3 in der Explosionszeichnung
Ersatzteilart: Rückwandstein
Modell: Arktis
Material: Skamol
Typ: 4
Weiterführende Links zu "Oranier Arktis 4 Rückwandstein"
Zuletzt angesehen