Erfahrungen & Bewertungen zu Cerberus Kaminhaus GmbH
+10 Jahre Erfahrung
Original Ersatzteile mit Qualitätssiegel
Geprüfter Onlineshop
+10 Jahre Erfahrung

Dieses Ersatzteil ist nur noch 4x verfügbar.

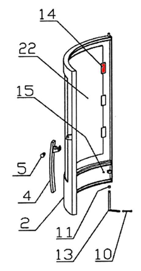
Oranier Arktis 8 Scheibenhalter

nur 6,89 €
Inhalt: 1 Stück

inkl. MwSt. zzgl. Versandkosten

Vorrätig, Lieferzeit 2-4 Tage


  • Persönliche Fachberatung für alle Ihre Fragen
  • Original Ersatzteil in geprüfter Qualität
  • 14 Tage Geld zurück Garantie für Ihre Bestellung

Weitere Informationen zum Produkt

  • 01039878


Haben Sie Fragen zu diesem Artikel?
Gerne stehe ich Ihnen zur Verfügung und beantworte Ihre Fragen:
Niklas Suter
(040) 28 48 48 - 210
Formular Ersatzteilanfrage
Original Scheibenhalter für den Kaminofen Oranier Arktis 8 Erfahrungsgemäß sind 6... mehr
Produktinformationen "Oranier Arktis 8 Scheibenhalter"

Original Scheibenhalter für den Kaminofen Oranier Arktis 8

  • Erfahrungsgemäß sind 6 Scheibenhalter in diesem Modell verbaut.

Oranier Arktis 8 Scheibenhalter Eckdaten:

  • Lieferumfang 1 Stück
  • Glashalter, Halterung für Sichtscheibe
  • Maße (B/L) 23 mm x 50 mm
  • Material Stahl
  • 1-fach gelocht
  • Position 14 in der Explosionszeichnung
Ersatzteilart: Scheibenhalter
Modell: Arktis
Material: Stahl
Typ: 8
Weiterführende Links zu "Oranier Arktis 8 Scheibenhalter"
Zuletzt angesehen