Erfahrungen & Bewertungen zu Cerberus Kaminhaus GmbH
+10 Jahre Erfahrung
Original Ersatzteile mit Qualitätssiegel
Geprüfter Onlineshop
+10 Jahre Erfahrung

Oranier Arktis 8 Seitenstein links vorne D

nur 51,98 €
Inhalt: 1 Stück

inkl. MwSt. zzgl. Versandkosten

Vorrätig, Lieferzeit 2-4 Tage


  • Persönliche Fachberatung für alle Ihre Fragen
  • Original Ersatzteil in geprüfter Qualität
  • 14 Tage Geld zurück Garantie für Ihre Bestellung

Weitere Informationen zum Produkt

  • 01018231


Haben Sie Fragen zu diesem Artikel?
Gerne stehe ich Ihnen zur Verfügung und beantworte Ihre Fragen:
Niklas Suter
(040) 28 48 48 - 210
Formular Ersatzteilanfrage
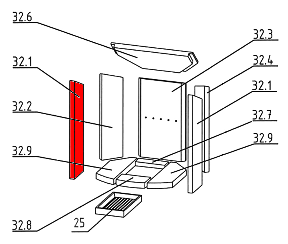
Original Seitenstein links vorne D für den Kaminofen Oranier Arktis 8 Es gibt... mehr
Produktinformationen "Oranier Arktis 8 Seitenstein links vorne D"

Original Seitenstein links vorne D für den Kaminofen Oranier Arktis 8

  • Es gibt verschiedene Ausmauerungen für dieses Modell. Bitte orientieren Sie sich an den Maßen vom Rückwandstein.
  • Erfahrungsgemäß wurde dieser Brennraumstein in dem Feuerraum verbaut, der einen gelochten Rückwandstein mit den Maßen 264 x 470 mm hat.

Oranier Arktis 8 Seitenstein links vorne Eckdaten:

  • Brennraumstein, Feuerraumstein
  • Maße (B/L/H) 95 mm x 568 mm x 25 mm
  • Material Grenamat
  • Position 32.1 in der Explosionszeichnung
Ersatzteilart: Seitenstein
Modell: Arktis
Material: Grenamat
Typ: 8
Weiterführende Links zu "Oranier Arktis 8 Seitenstein links vorne D"
Zuletzt angesehen