Erfahrungen & Bewertungen zu Cerberus Kaminhaus GmbH
+10 Jahre Erfahrung
Original Ersatzteile mit Qualitätssiegel
Geprüfter Onlineshop
+10 Jahre Erfahrung

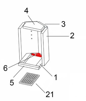
Oranier Artemis 3 Bodenstein hinten

nur 14,32 €
Inhalt: 1 Stück

inkl. MwSt. zzgl. Versandkosten

Lieferzeit 2-3 Wochen


  • Persönliche Fachberatung für alle Ihre Fragen
  • Original Ersatzteil in geprüfter Qualität
  • 14 Tage Geld zurück Garantie für Ihre Bestellung

Weitere Informationen zum Produkt

  • 01000076


Haben Sie Fragen zu diesem Artikel?
Gerne stehe ich Ihnen zur Verfügung und beantworte Ihre Fragen:
Niklas Suter
(040) 28 48 48 - 210
Formular Ersatzteilanfrage
Original Bodenstein hinten für den Kaminofen Oranier Artemis 3 Der Hersteller... mehr
Produktinformationen "Oranier Artemis 3 Bodenstein hinten"

Original Bodenstein hinten für den Kaminofen Oranier Artemis 3

  • Der Hersteller hat die Produktion dieser Steine von Schamotte auf Vermiculite umgestellt.

Oranier Artemis 3 Bodenstein hinten Eckdaten:

  • Brennraumstein, Feuerraumstein
  • Maße (B/L/H) 182 mm x 42 mm x 30 mm
  • Material Vermiculite
  • Position 6 in der Explosionszeichnung
Ersatzteilart: Bodenstein
Modell: Artemis
Material: Vermiculite
Typ: 3
Weiterführende Links zu "Oranier Artemis 3 Bodenstein hinten"
Zuletzt angesehen