Erfahrungen & Bewertungen zu Cerberus Kaminhaus GmbH
+10 Jahre Erfahrung
Original Ersatzteile mit Qualitätssiegel
Geprüfter Onlineshop
+10 Jahre Erfahrung

Dieses Ersatzteil ist nur noch 2x verfügbar.

Oranier Fjord 8 Bodenstein links E

nur 26,41 €
Inhalt: 1 Stück

inkl. MwSt. zzgl. Versandkosten

Vorrätig, Lieferzeit 2-4 Tage


  • Persönliche Fachberatung für alle Ihre Fragen
  • Original Ersatzteil in geprüfter Qualität
  • 14 Tage Geld zurück Garantie für Ihre Bestellung

Weitere Informationen zum Produkt

  • 01003623


Haben Sie Fragen zu diesem Artikel?
Gerne stehe ich Ihnen zur Verfügung und beantworte Ihre Fragen:
Sarah Hackbarth
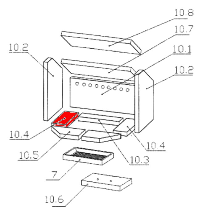
Original Bodenstein links E für den Kaminofen Oranier Fjord 8 Typ 4652-8 ab Juni... mehr
Produktinformationen "Oranier Fjord 8 Bodenstein links E"

Original Bodenstein links E für den Kaminofen Oranier Fjord 8 Typ 4652-8 ab Juni 2004

  • Es gibt verschiedene Ausmauerungen für dieses Modell. Bitte orientieren Sie sich an den Maßen vom Bodenstein vorne links und vom Rückwandstein.
  • Markantes Merkmal dieses Brennraums ist die Kombination: Bodenstein vorne links (112/202 x 114 x 30 mm) und gelochter Rückwandstein (475x220x25 mm).
  • Erfahrungsgemäß wurde dieser Feuerraumstein ab Juni 2004 verbaut.

Oranier Fjord 8 Typ 4652-8 ab Juni 2004 Bodenstein links Eckdaten:

  • Brennraumstein, Feuerraumstein
  • Vermiculitesteine
  • Maße (B/L/H) 85 mm x 220 mm x 30 mm
  • Material Vermiculite
  • Form rechteckig
  • Position 10.4 in der Explosionszeichnung
Ersatzteilart: Bodenstein
Modell: Fjord
Form: rechteckig
Material: Vermiculite
Typ: 8
Typ 2: Typ 4652-8 ab Juni 2004
Weiterführende Links zu "Oranier Fjord 8 Bodenstein links E"
Zuletzt angesehen