Erfahrungen & Bewertungen zu Cerberus Kaminhaus GmbH
+10 Jahre Erfahrung
Original Ersatzteile mit Qualitätssiegel
Geprüfter Onlineshop
+10 Jahre Erfahrung

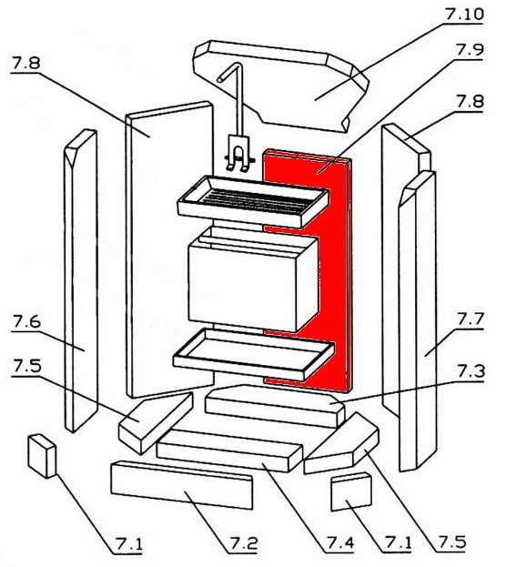
Oranier Gala Prisma Aqua Rückwandstein

nur 33,53 €
Inhalt: 1 Stück

inkl. MwSt. zzgl. Versandkosten

Lieferzeit 2-3 Wochen


  • Persönliche Fachberatung für alle Ihre Fragen
  • Original Ersatzteil in geprüfter Qualität
  • 14 Tage Geld zurück Garantie für Ihre Bestellung

Weitere Informationen zum Produkt

  • 01006382


Haben Sie Fragen zu diesem Artikel?
Gerne stehe ich Ihnen zur Verfügung und beantworte Ihre Fragen:
Niklas Suter
(040) 28 48 48 - 210
Formular Ersatzteilanfrage
Original Rückwandstein für den Kaminofen Oranier Gala Prisma Aqua Oranier Gala... mehr
Produktinformationen "Oranier Gala Prisma Aqua Rückwandstein"

Original Rückwandstein für den Kaminofen Oranier Gala Prisma Aqua

Oranier Gala Prisma Aqua Rückwandstein Eckdaten:

  • Brennraumstein, Feuerraumstein
  • Maße (B/L/H) 230 mm x 491 mm x 25 mm
  • Material Vermiculite
  • gelocht
  • Position 7.9 in der Explosionszeichnung
Ersatzteilart: Rückwandstein
Modell: Gala
Material: Vermiculite
Typ: Prisma Aqua
Weiterführende Links zu "Oranier Gala Prisma Aqua Rückwandstein"
Zuletzt angesehen