Erfahrungen & Bewertungen zu Cerberus Kaminhaus GmbH
+10 Jahre Erfahrung
Original Ersatzteile mit Qualitätssiegel
Geprüfter Onlineshop
+10 Jahre Erfahrung

Dieses Ersatzteil ist nur noch 2x verfügbar.

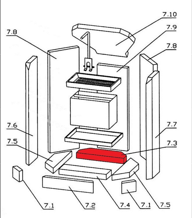
Oranier KE 706 Prisma Bodenstein hinten

nur 13,97 €
Inhalt: 1 Stück

inkl. MwSt. zzgl. Versandkosten

Vorrätig, Lieferzeit 2-4 Tage


  • Persönliche Fachberatung für alle Ihre Fragen
  • Original Ersatzteil in geprüfter Qualität
  • 14 Tage Geld zurück Garantie für Ihre Bestellung

Weitere Informationen zum Produkt

  • 01007809


Haben Sie Fragen zu diesem Artikel?
Gerne stehe ich Ihnen zur Verfügung und beantworte Ihre Fragen:
Niklas Suter
(040) 28 48 48 - 210
Formular Ersatzteilanfrage
Original Bodenstein hinten für den Kamineinsatz Oranier KE 706 Prisma Oranier KE... mehr
Produktinformationen "Oranier KE 706 Prisma Bodenstein hinten"

Original Bodenstein hinten für den Kamineinsatz Oranier KE 706 Prisma

Oranier KE 706 Prisma Bodenstein hinten Eckdaten:

  • Brennraumstein, Feuerraumstein
  • Vermiculitestein
  • Maße (B/L/H) 89 mm x 269/183 mm x 30 mm
  • Material Vermiculite
  • Form länglich
  • Position 7.3 in der Explosionszeichnung
Ersatzteilart: Bodenstein
Modell: KE
Form: länglich
Material: Vermiculite
Typ: 706 Prisma
Weiterführende Links zu "Oranier KE 706 Prisma Bodenstein hinten"
Zuletzt angesehen