Erfahrungen & Bewertungen zu Cerberus Kaminhaus GmbH
+10 Jahre Erfahrung
Original Ersatzteile mit Qualitätssiegel
Geprüfter Onlineshop
+10 Jahre Erfahrung

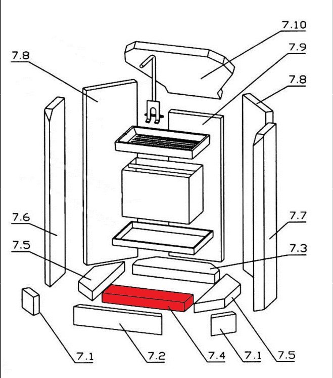
Oranier KE 706 Prisma Bodenstein vorne

nur 26,41 €
Inhalt: 1 Stück

inkl. MwSt. zzgl. Versandkosten

Lieferzeit 2-3 Wochen


  • Persönliche Fachberatung für alle Ihre Fragen
  • Original Ersatzteil in geprüfter Qualität
  • 14 Tage Geld zurück Garantie für Ihre Bestellung

Weitere Informationen zum Produkt

  • 01007759


Haben Sie Fragen zu diesem Artikel?
Gerne stehe ich Ihnen zur Verfügung und beantworte Ihre Fragen:
Niklas Suter
(040) 28 48 48 - 210
Formular Ersatzteilanfrage
Original Bodenstein vorne für den Kamineinsatz Oranier KE 706 Prisma Oranier KE... mehr
Produktinformationen "Oranier KE 706 Prisma Bodenstein vorne"

Original Bodenstein vorne für den Kamineinsatz Oranier KE 706 Prisma

Oranier KE 706 Prisma Bodenstein vorne Eckdaten:

  • Brennraumstein, Feuerraumstein
  • Vermiculitestein
  • Maße (B/L/H) 78 mm x 270 mm x 30 mm
  • Material Vermiculite
  • Position 7.4 in der Explosionszeichnung
Ersatzteilart: Bodenstein
Modell: KE
Material: Vermiculite
Typ: 706 Prisma
Weiterführende Links zu "Oranier KE 706 Prisma Bodenstein vorne"
Zuletzt angesehen