Erfahrungen & Bewertungen zu Cerberus Kaminhaus GmbH
+10 Jahre Erfahrung
Original Ersatzteile mit Qualitätssiegel
Geprüfter Onlineshop
+10 Jahre Erfahrung

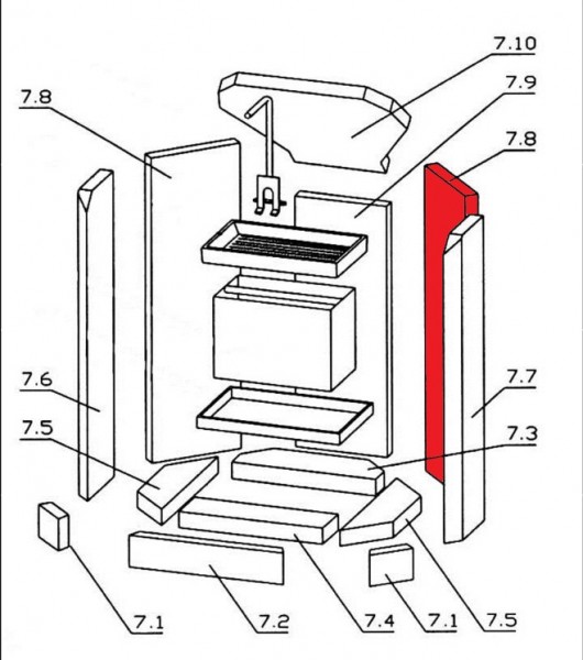
Oranier KE 706 Prisma Seitenstein rechts hinten

nur 50,86 €
Inhalt: 1 Stück

inkl. MwSt. zzgl. Versandkosten

Vorrätig, Lieferzeit 2-4 Tage


  • Persönliche Fachberatung für alle Ihre Fragen
  • Original Ersatzteil in geprüfter Qualität
  • 14 Tage Geld zurück Garantie für Ihre Bestellung

Weitere Informationen zum Produkt

  • 01021732


Haben Sie Fragen zu diesem Artikel?
Gerne stehe ich Ihnen zur Verfügung und beantworte Ihre Fragen:
Niklas Suter
(040) 28 48 48 - 210
Formular Ersatzteilanfrage
Original Seitenstein rechts hinten für den Kamineinsatz Oranier KE 706 Prisma... mehr
Produktinformationen "Oranier KE 706 Prisma Seitenstein rechts hinten"

Original Seitenstein rechts hinten für den Kamineinsatz Oranier KE 706 Prisma

Oranier KE 706 Prisma Seitenstein rechts hinten Eckdaten:

  • Brennraumstein, Feuerraumstein
  • Vermiculitesteine
  • Maße (B/L/H) 176 mm x 568 mm x 25 mm
  • Material Vermiculite
  • Position 7.8 in der Explosionszeichnung
Ersatzteilart: Seitenstein
Modell: KE
Material: Vermiculite
Typ: 706 Prisma
Weiterführende Links zu "Oranier KE 706 Prisma Seitenstein rechts hinten"
Zuletzt angesehen