Erfahrungen & Bewertungen zu Cerberus Kaminhaus GmbH
+10 Jahre Erfahrung
Original Ersatzteile mit Qualitätssiegel
Geprüfter Onlineshop
+10 Jahre Erfahrung

Oranier Kiruna 4 Bodenstein hinten A

nur 16,21 €
Inhalt: 1 Stück

inkl. MwSt. zzgl. Versandkosten

Vorrätig, Lieferzeit 2-4 Tage


  • Persönliche Fachberatung für alle Ihre Fragen
  • Original Ersatzteil in geprüfter Qualität
  • 14 Tage Geld zurück Garantie für Ihre Bestellung

Weitere Informationen zum Produkt

  • 01017540


Haben Sie Fragen zu diesem Artikel?
Gerne stehe ich Ihnen zur Verfügung und beantworte Ihre Fragen:
Niklas Suter
(040) 28 48 48 - 210
Formular Ersatzteilanfrage
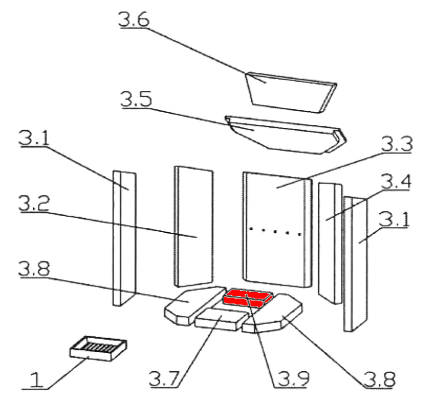
Original Bodenstein hinten A für den Kaminofen Oranier Kiruna 4 Typ 4649-4 Serie I... mehr
Produktinformationen "Oranier Kiruna 4 Bodenstein hinten A"

Original Bodenstein hinten A für den Kaminofen Oranier Kiruna 4 Typ 4649-4 Serie I

  • Es gibt verschiedene Feuerraumauskleidungen für diesen Kaminofen.
  • Bitte orientieren Sie sich an der Serie Ihres Modells und an den Maßen der Brennraumsteine.
  • Erfahrungsgemäß ist dieser Brennraumstein in Serie 1 verbaut.

Oranier Kiruna 4 Typ 4649-4 Serie I Bodenstein hinten Eckdaten:

  • Brennraumstein, Feuerraumstein
  • Maße (B/L/H) 69 mm x 135 mm x 30 mm
  • Material Vermiculite
  • Position 3.9 in der Explosionszeichnung
Ersatzteilart: Bodenstein
Modell: Kiruna
Material: Vermiculite
Typ: 4
Typ 2: Typ 4649-4 Serie I
Weiterführende Links zu "Oranier Kiruna 4 Bodenstein hinten A"
Zuletzt angesehen