Erfahrungen & Bewertungen zu Cerberus Kaminhaus GmbH
+10 Jahre Erfahrung
Original Ersatzteile mit Qualitätssiegel
Geprüfter Onlineshop
+10 Jahre Erfahrung

Oranier Kiruna 4 Bodenstein hinten B

nur 16,21 €
Inhalt: 1 Stück

inkl. MwSt. zzgl. Versandkosten

Vorrätig, Lieferzeit 2-4 Tage


  • Persönliche Fachberatung für alle Ihre Fragen
  • Original Ersatzteil in geprüfter Qualität
  • 14 Tage Geld zurück Garantie für Ihre Bestellung

Weitere Informationen zum Produkt

  • 01017539


Haben Sie Fragen zu diesem Artikel?
Gerne stehe ich Ihnen zur Verfügung und beantworte Ihre Fragen:
Niklas Suter
(040) 28 48 48 - 210
Formular Ersatzteilanfrage
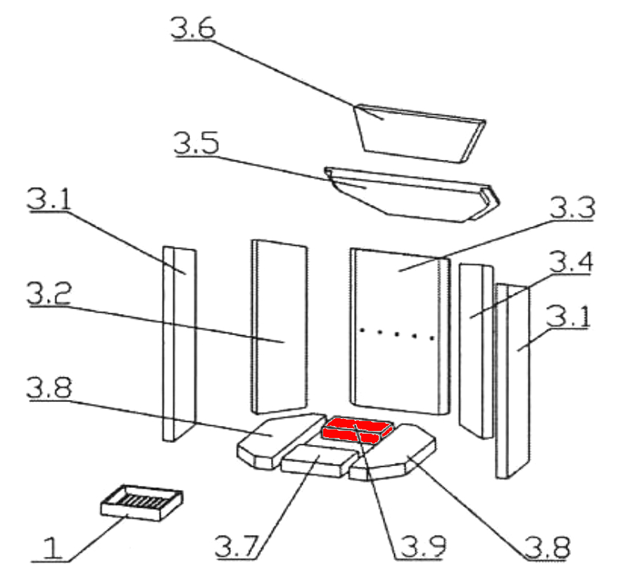
Original Bodenstein hinten B für den Kaminofen Oranier Kiruna 4 Serie 2 Es... mehr
Produktinformationen "Oranier Kiruna 4 Bodenstein hinten B"

Original Bodenstein hinten B für den Kaminofen Oranier Kiruna 4 Serie 2

  • Es gibt verschiedene Feuerraumauskleidungen für diesen Kaminofen.
  • Bitte orientieren Sie sich an der Serie Ihres Modells und an den Maßen der Brennraumsteine.
  • Erfahrungsgemäß passt dieser Stein in den Brennraum mit glatten Oberflächen und 4-teiligem Boden, der Serie 2.

Oranier Kiruna 4 Serie 2 Bodenstein hinten Eckdaten:

  • Brennraumstein, Feuerraumstein
  • Maße (B/L/H) 135 mm x 69 mm x 30 mm
  • Material Vermiculite
  • Position 35.10 in der Explosionszeichnung
Ersatzteilart: Bodenstein
Modell: Kiruna
Material: Vermiculite
Typ: 4
Typ 2: Serie 2
Weiterführende Links zu "Oranier Kiruna 4 Bodenstein hinten B"
Zuletzt angesehen