Erfahrungen & Bewertungen zu Cerberus Kaminhaus GmbH
+10 Jahre Erfahrung
Original Ersatzteile mit Qualitätssiegel
Geprüfter Onlineshop
+10 Jahre Erfahrung

Dieses Ersatzteil ist nur noch 1x verfügbar.

Oranier Kopenhagen Rückwandstein links A

nur 27,24 €
Inhalt: 1 Stück

inkl. MwSt. zzgl. Versandkosten

Vorrätig, Lieferzeit 2-4 Tage


  • Persönliche Fachberatung für alle Ihre Fragen
  • Original Ersatzteil in geprüfter Qualität
  • 14 Tage Geld zurück Garantie für Ihre Bestellung

Weitere Informationen zum Produkt

  • 01000229


Haben Sie Fragen zu diesem Artikel?
Gerne stehe ich Ihnen zur Verfügung und beantworte Ihre Fragen:
Sarah Hackbarth
Original Rückwandstein links A für den Kaminofen Oranier Kopenhagen Der Hersteller... mehr
Produktinformationen "Oranier Kopenhagen Rückwandstein links A"

Original Rückwandstein links A für den Kaminofen Oranier Kopenhagen

  • Der Hersteller hat die Produktion dieses Artikels eingestellt. Sofern wir über einen Restbestand verfügen, ist dieses Ersatzteil bei uns erhältlich
  • Markantes Merkmal dieser Auskleidung ist die Höhe der stehenden Brennraumsteine (250 mm)
  • Passend für Modelle mit Baujahr von 9/1998 bis 4/2000

Oranier Kopenhagen Rückwandstein links Eckdaten:

  • Brennraumstein, Feuerraumstein
  • Maße (B/L/H) 235 mm x 250 mm x 25 mm
  • Material Schamotte
  • Form rechteckig
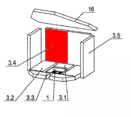
  • Position 3.4 in der Explosionszeichnung
Ersatzteilart: Rückwandstein
Modell: Kopenhagen
Form: rechteckig
Material: Schamotte
Weiterführende Links zu "Oranier Kopenhagen Rückwandstein links A"
Zuletzt angesehen