Erfahrungen & Bewertungen zu Cerberus Kaminhaus GmbH
+10 Jahre Erfahrung
Original Ersatzteile mit Qualitätssiegel
Geprüfter Onlineshop
+10 Jahre Erfahrung

Dieses Ersatzteil ist nur noch 3x verfügbar.

Oranier Malmö 6 Bodenstein links B

nur 17,61 €
Inhalt: 1 Stück

inkl. MwSt. zzgl. Versandkosten

Vorrätig, Lieferzeit 2-4 Tage


  • Persönliche Fachberatung für alle Ihre Fragen
  • Original Ersatzteil in geprüfter Qualität
  • 14 Tage Geld zurück Garantie für Ihre Bestellung

Weitere Informationen zum Produkt

  • 01020390


Haben Sie Fragen zu diesem Artikel?
Gerne stehe ich Ihnen zur Verfügung und beantworte Ihre Fragen:
Niklas Suter
(040) 28 48 48 - 210
Formular Ersatzteilanfrage
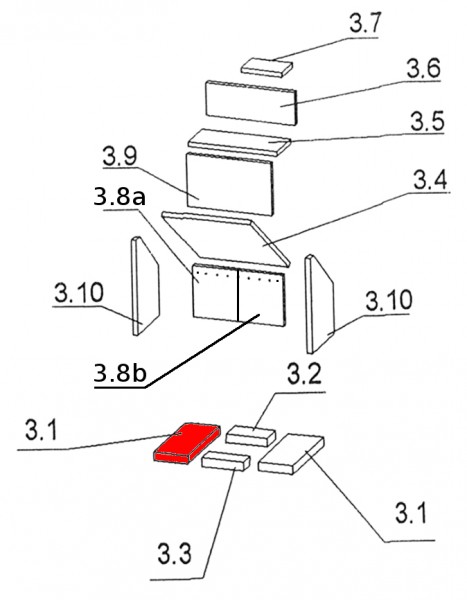
Original Bodenstein links B für den Kaminofen Oranier Malmö 6 Typ 4664-6, Typ 6646... mehr
Produktinformationen "Oranier Malmö 6 Bodenstein links B"

Original Bodenstein links B für den Kaminofen Oranier Malmö 6 Typ 4664-6, Typ 6646

  • Es gibt verschiedene Ausmauerungen für dieses Modell. Bitte orientieren Sie sich an der Höhe vom Seitenstein rechts.
  • Erfahrungsgemäß passt dieser Feuerraumstein in den Brennraum, dessen Seitenstein rechts eine Höhe von 450 mm hat.

Oranier Malmö 6 Typ 4664-6, Typ 6646 Bodenstein links Eckdaten:

  • Brennraumstein, Feuerraumstein
  • Vermiculitesteine
  • Maße (B/L/H) 118 mm x 276 mm x 30 mm
  • Material Vermiculite
  • Position 3.1 in der Explosionszeichnung
Ersatzteilart: Bodenstein
Modell: Malmö
Material: Vermiculite
Typ: 6
Typ 2: Typ 4664-6, Typ 6646
Weiterführende Links zu "Oranier Malmö 6 Bodenstein links B"
Zuletzt angesehen