Erfahrungen & Bewertungen zu Cerberus Kaminhaus GmbH
+10 Jahre Erfahrung
Original Ersatzteile mit Qualitätssiegel
Geprüfter Onlineshop
+10 Jahre Erfahrung

Oranier Nordik Bodenstein hinten A

nur 17,61 €
Inhalt: 1 Stück

inkl. MwSt. zzgl. Versandkosten

Vorrätig, Lieferzeit 2-4 Tage


  • Persönliche Fachberatung für alle Ihre Fragen
  • Original Ersatzteil in geprüfter Qualität
  • 14 Tage Geld zurück Garantie für Ihre Bestellung

Weitere Informationen zum Produkt

  • 01000321


Haben Sie Fragen zu diesem Artikel?
Gerne stehe ich Ihnen zur Verfügung und beantworte Ihre Fragen:
Sarah Hackbarth
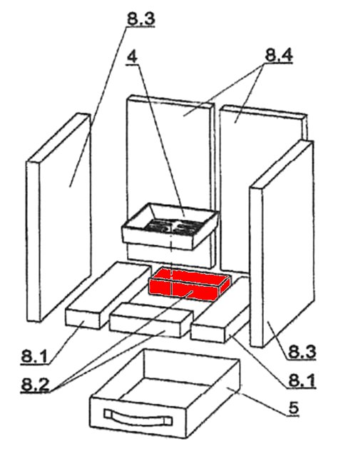
Original Bodenstein hinten A für den Kaminofen Oranier Nordik Typ 4621-5 Serie I... mehr
Produktinformationen "Oranier Nordik Bodenstein hinten A"

Original Bodenstein hinten A für den Kaminofen Oranier Nordik Typ 4621-5 Serie I

  • Es gibt verschiedene Ausmauerungen für dieses Modell. Bitte orientieren Sie sich an Typ und Serie Ihres Modells.
  • Erfahrungsgemäß passt dieser Feuerraumstein für Typ 4621-5 Serie 1.

Oranier Nordik Typ 4621-5 Serie I Bodenstein hinten Eckdaten:

  • Brennraumstein, Feuerraumstein
  • Maße (B/L/H) 66 mm x 135 mm x 30 mm
  • Material Skamol
  • Position 8.2 in der Explosionszeichnung
Ersatzteilart: Bodenstein
Modell: Nordik
Material: Skamol
Typ 2: Typ 4621-5 Serie I
Weiterführende Links zu "Oranier Nordik Bodenstein hinten A"
Zuletzt angesehen