Erfahrungen & Bewertungen zu Cerberus Kaminhaus GmbH
+10 Jahre Erfahrung
Original Ersatzteile mit Qualitätssiegel
Geprüfter Onlineshop
+10 Jahre Erfahrung

Oranier Polar 6 Eck Bodenstein rechts D

nur 24,59 €
Inhalt: 1 Stück

inkl. MwSt. zzgl. Versandkosten

Vorrätig, Lieferzeit 2-4 Tage


  • Persönliche Fachberatung für alle Ihre Fragen
  • Original Ersatzteil in geprüfter Qualität
  • 14 Tage Geld zurück Garantie für Ihre Bestellung

Weitere Informationen zum Produkt

  • 01018248


Haben Sie Fragen zu diesem Artikel?
Gerne stehe ich Ihnen zur Verfügung und beantworte Ihre Fragen:
Niklas Suter
(040) 28 48 48 - 210
Formular Ersatzteilanfrage
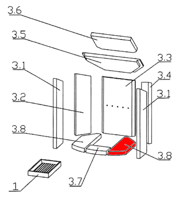
Original Bodenstein rechts D für den Kaminofen Oranier Polar 6 Eck Typ 4656-6... mehr
Produktinformationen "Oranier Polar 6 Eck Bodenstein rechts D"

Original Bodenstein rechts D für den Kaminofen Oranier Polar 6 Eck Typ 4656-6

  • Es gibt verschiedene Ausmauerungen für dieses Modell. Bitte orientieren Sie sich an den Maßen der Brennraumsteine.
  • Erfahrungsgemäß wurde dieser Feuerraumstein im Brennraum verbaut, dessen markante Merkmale der Bodenstein vorne (152 x 95 x 30 mm) und der Seitenstein links vorne (121 x 455/520 x 25 mm) sind.

Oranier Polar 6 Eck Typ 4656-6 Bodenstein rechts Eckdaten:

  • Brennraumstein, Feuerraumstein
  • Maße (B/L/H) 115 mm x 340 mm x 30 mm
  • Material Skamol
  • Position 3.8 in der Explosionszeichnung
Ersatzteilart: Bodenstein
Modell: Polar
Material: Skamol
Typ: 6 Eck
Typ 2: Typ 4656-6
Weiterführende Links zu "Oranier Polar 6 Eck Bodenstein rechts D"
Zuletzt angesehen