Erfahrungen & Bewertungen zu Cerberus Kaminhaus GmbH
+10 Jahre Erfahrung
Original Ersatzteile mit Qualitätssiegel
Geprüfter Onlineshop
+10 Jahre Erfahrung

Oranier Polar 6 Seitenstein rechts hinten A

nur 43,32 €
Inhalt: 1 Stück

inkl. MwSt. zzgl. Versandkosten

Vorrätig, Lieferzeit 2-4 Tage


  • Persönliche Fachberatung für alle Ihre Fragen
  • Original Ersatzteil in geprüfter Qualität
  • 14 Tage Geld zurück Garantie für Ihre Bestellung

Weitere Informationen zum Produkt

  • 01021591


Haben Sie Fragen zu diesem Artikel?
Gerne stehe ich Ihnen zur Verfügung und beantworte Ihre Fragen:
Niklas Suter
(040) 28 48 48 - 210
Formular Ersatzteilanfrage
Original Seitenstein rechts hinten A für den Kaminofen Oranier Polar 6 Typ 4654-6... mehr
Produktinformationen "Oranier Polar 6 Seitenstein rechts hinten A"

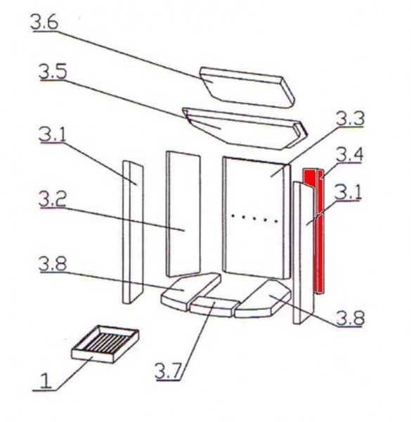
Original Seitenstein rechts hinten A für den Kaminofen Oranier Polar 6 Typ 4654-6

  • Es gibt verschiedene Ausmauerungen für dieses Modell. Bitte orientieren Sie sich an den Maßen der Brennraumsteine.
  • Erfahrungsgemäß wurde dieser Feuerraumstein im Brennraum verbaut, dessen markante Merkmale der Bodenstein vorne (152x95x30 mm) und der Seitenstein links vorne (131 x 455/520 x 25 mm) sind.

Oranier Polar 6 Typ 4654-6 Seitenstein rechts hinten Eckdaten:

 

  • Brennraumstein, Feuerraumstein
  • Vermiculitesteine
  • Maße (B/L/H) 117 mm x 410/457 mm x 25 mm
  • Material Vermiculite
  • Position 3.4 in der Explosionszeichnung
Ersatzteilart: Seitenstein
Modell: Polar
Material: Vermiculite
Typ: 6
Typ 2: Typ 4654-6
Weiterführende Links zu "Oranier Polar 6 Seitenstein rechts hinten A"
Zuletzt angesehen