Erfahrungen & Bewertungen zu Cerberus Kaminhaus GmbH
+10 Jahre Erfahrung
Original Ersatzteile mit Qualitätssiegel
Geprüfter Onlineshop
+10 Jahre Erfahrung

Oranier Pori 5 Zugumlenkung unten A

nur 36,75 €
Inhalt: 1 Stück

inkl. MwSt. zzgl. Versandkosten

Vorrätig, Lieferzeit 2-4 Tage


  • Persönliche Fachberatung für alle Ihre Fragen
  • Original Ersatzteil in geprüfter Qualität
  • 14 Tage Geld zurück Garantie für Ihre Bestellung

Weitere Informationen zum Produkt

  • 01016157


Haben Sie Fragen zu diesem Artikel?
Gerne stehe ich Ihnen zur Verfügung und beantworte Ihre Fragen:
Niklas Suter
(040) 28 48 48 - 210
Formular Ersatzteilanfrage
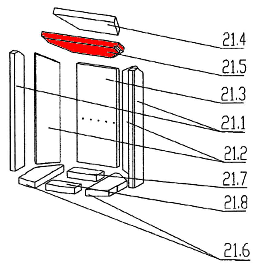
Original Zugumlenkung unten A für den Kaminofen Oranier Pori 5 Es gibt... mehr
Produktinformationen "Oranier Pori 5 Zugumlenkung unten A"

Original Zugumlenkung unten A für den Kaminofen Oranier Pori 5

  • Es gibt verschiedene Ausmauerungen für dieses Modell. Bitte orientieren Sie sich an den Maßen der Feuerraumsteine.
  • Dieser Brennraumstein befindet sich erfahrungsgemäß im Feuerraum, dessen markante Merkmale folgende Steine sind: Bodenstein vorne (134 x 51 x 30 mm), Bodenstein links (93 x 157/267 x 30 mm), Seitenstein links vorne (86 x 450/480 x 25 mm)

Oranier Pori 5 Zugumlenkung unten Eckdaten:

  • Rauchumlenkung, Flammenschild
  • Maße (B/L/H) 350 mm x 159 mm x 25 mm
  • Material Vermiculite
  • Position 21.5 in der Explosionszeichnung
Ersatzteilart: Zugumlenkung
Modell: Pori
Material: Vermiculite
Typ: 5
Weiterführende Links zu "Oranier Pori 5 Zugumlenkung unten A"
Zuletzt angesehen