Erfahrungen & Bewertungen zu Cerberus Kaminhaus GmbH
+10 Jahre Erfahrung
Original Ersatzteile mit Qualitätssiegel
Geprüfter Onlineshop
+10 Jahre Erfahrung

Oranier Pori 5 Zugumlenkung unten B

nur 36,75 €
Inhalt: 1 Stück

inkl. MwSt. zzgl. Versandkosten

Vorrätig, Lieferzeit 2-4 Tage


  • Persönliche Fachberatung für alle Ihre Fragen
  • Original Ersatzteil in geprüfter Qualität
  • 14 Tage Geld zurück Garantie für Ihre Bestellung

Weitere Informationen zum Produkt

  • 01016163


Haben Sie Fragen zu diesem Artikel?
Gerne stehe ich Ihnen zur Verfügung und beantworte Ihre Fragen:
Sarah Hackbarth
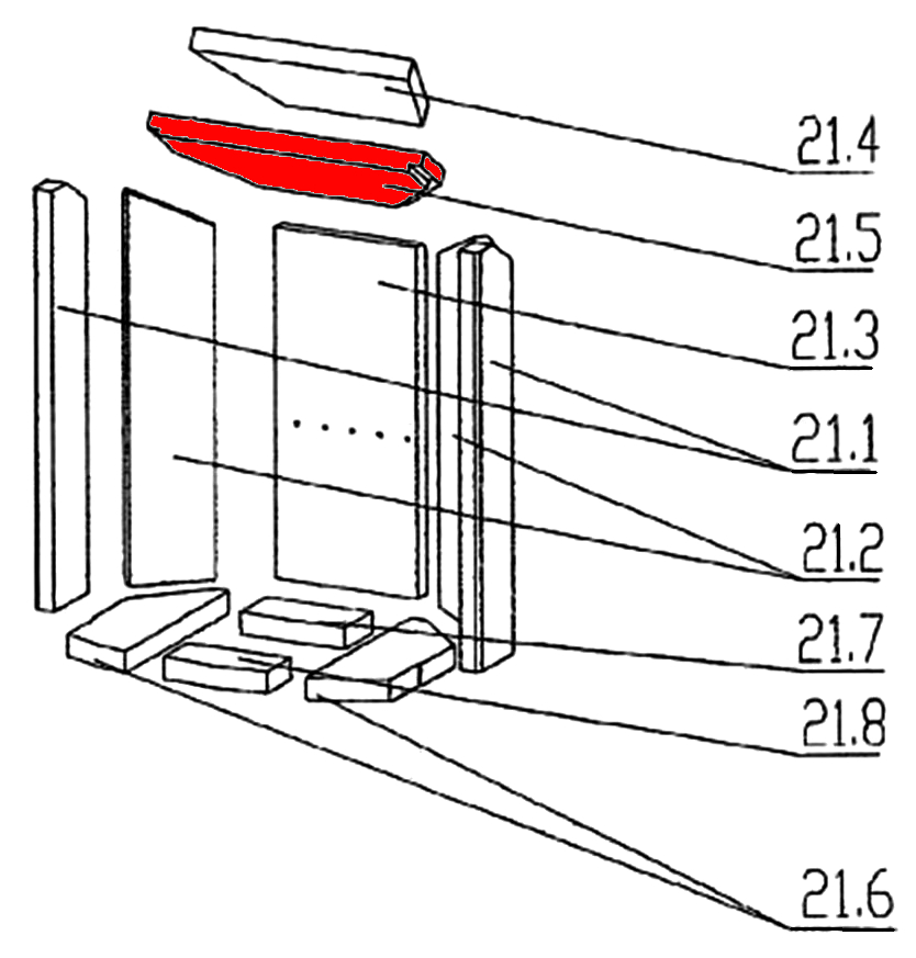
Original Zugumlenkung unten B für den Kaminofen Oranier Pori 5 Typ 4671 Es gibt... mehr
Produktinformationen "Oranier Pori 5 Zugumlenkung unten B"

Original Zugumlenkung unten B für den Kaminofen Oranier Pori 5 Typ 4671

  • Es gibt verschiedene Ausmauerungen für dieses Modell. Bitte orientieren Sie sich an den Maßen der Brennraumsteine.
  • Erfahrungsgemäß ist dieser Feuerraumstein in dem Brennraum verbaut, der folgende markante Merkmale aufweist: Bodenstein vorne (134x51x30 mm), Bodenstein links (93 x 157/267 x 30 mm), Seitenstein links vorne (90 x 448/480 x 25 mm)

Oranier Pori 5 Typ 4671 Zugumlenkung unten Eckdaten:

  • Rauchgasumlenkung, Flammenschild
  • Vermiculitestein
  • Maße (B/L/H) 350 mm x 159 mm x 25 mm
  • Material Vermiculite
  • Position 31.11 in der Explosionszeichnung
Ersatzteilart: Zugumlenkung
Modell: Pori
Material: Vermiculite
Typ: 5
Typ 2: Typ 4671
Weiterführende Links zu "Oranier Pori 5 Zugumlenkung unten B"
Zuletzt angesehen