Erfahrungen & Bewertungen zu Cerberus Kaminhaus GmbH
+10 Jahre Erfahrung
Original Ersatzteile mit Qualitätssiegel
Geprüfter Onlineshop
+10 Jahre Erfahrung

Dieses Ersatzteil ist nur noch 2x verfügbar.

Oranier Skagen Seitenstein Set B

nur 168,79 €
Inhalt: 1 Stück

inkl. MwSt. zzgl. Versandkosten

Vorrätig, Lieferzeit 2-4 Tage


  • Persönliche Fachberatung für alle Ihre Fragen
  • Original Ersatzteil in geprüfter Qualität
  • 14 Tage Geld zurück Garantie für Ihre Bestellung

Weitere Informationen zum Produkt

  • 01022308


Haben Sie Fragen zu diesem Artikel?
Gerne stehe ich Ihnen zur Verfügung und beantworte Ihre Fragen:
Sarah Hackbarth
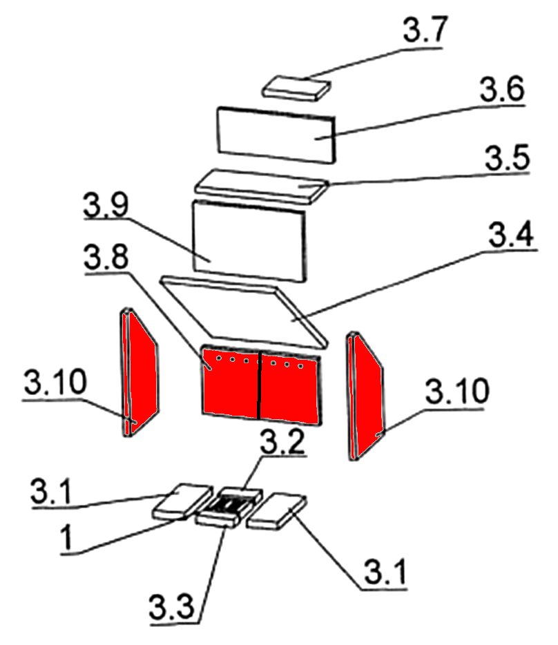
Original Seitenstein Set B für den Kaminofen Oranier Skagen Typ 4651 Der Hersteller... mehr
Produktinformationen "Oranier Skagen Seitenstein Set B"

Original Seitenstein Set B für den Kaminofen Oranier Skagen Typ 4651

  • Der Hersteller hat die Produktion dieses Artikels eingestellt. Sofern wir über einen Restbestand verfügen, ist dieses Ersatzteil bei uns erhältlich
  • Es gibt verschiedene Ausmauerungen für dieses Modell. Bitte orientieren Sie sich an der Serie Ihres Gerätes.
  • Erfahrungsgemäß passen diese Feuerraumsteine für Serie 2.
  • Der Hersteller hat den früheren 1-teiligen Rückwandstein auf einen 2-teiligen Rückwandbereich umgestellt.
  • 4-teiliges Set

Oranier Skagen Typ 4651 Seitenstein Eckdaten:

  • Seitenstein Set, seitliche Brennraumsteine Set
  • Material Vermiculite
  • Seitenstein links (278 x 244/450 x 25 mm), Seitenstein rechts (278 x 244/450 x 25 mm)
  • Rückwandstein links (213 x 240 x 25 mm), Rückwandstein rechts (213 x 240 x 25 mm)
  • rot markiert in der Explosionszeichnung
Ersatzteilart: Seitenstein
Modell: Skagen
Material: Vermiculite
Typ 2: Typ 4651
Weiterführende Links zu "Oranier Skagen Seitenstein Set B"
Zuletzt angesehen