Erfahrungen & Bewertungen zu Cerberus Kaminhaus GmbH
+10 Jahre Erfahrung
Original Ersatzteile mit Qualitätssiegel
Geprüfter Onlineshop
+10 Jahre Erfahrung

Oranier Skagen Zugumlenkung oben B

nur 36,75 €
Inhalt: 1 Stück

inkl. MwSt. zzgl. Versandkosten

Vorrätig, Lieferzeit 2-4 Tage


  • Persönliche Fachberatung für alle Ihre Fragen
  • Original Ersatzteil in geprüfter Qualität
  • 14 Tage Geld zurück Garantie für Ihre Bestellung

Weitere Informationen zum Produkt

  • 01016970


Haben Sie Fragen zu diesem Artikel?
Gerne stehe ich Ihnen zur Verfügung und beantworte Ihre Fragen:
Niklas Suter
(040) 28 48 48 - 210
Formular Ersatzteilanfrage
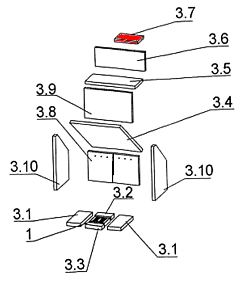
Original Zugumlenkung oben B für den Kaminofen Oranier Skagen Typ 4651 Es gibt... mehr
Produktinformationen "Oranier Skagen Zugumlenkung oben B"

Original Zugumlenkung oben B für den Kaminofen Oranier Skagen Typ 4651

  • Es gibt verschiedene Ausmauerungen für dieses Modell. Bitte orientieren Sie sich an der Serie Ihres Gerätes.
  • Erfahrungsgemäß passt dieser Feuerraumstein für Serie 2.

Oranier Skagen Typ 4651 Zugumlenkung oben Eckdaten:

  • Rauchgasumlenkung, Flammenschild
  • Maße (B/L/H) 195 mm x 120/135 mm x 25 mm
  • Material Vermiculite
  • Position 3.7 in der Explosionszeichnung
Ersatzteilart: Zugumlenkung
Modell: Skagen
Material: Vermiculite
Typ 2: Typ 4651
Weiterführende Links zu "Oranier Skagen Zugumlenkung oben B"
Zuletzt angesehen