Erfahrungen & Bewertungen zu Cerberus Kaminhaus GmbH
+10 Jahre Erfahrung
Original Ersatzteile mit Qualitätssiegel
Geprüfter Onlineshop
+10 Jahre Erfahrung

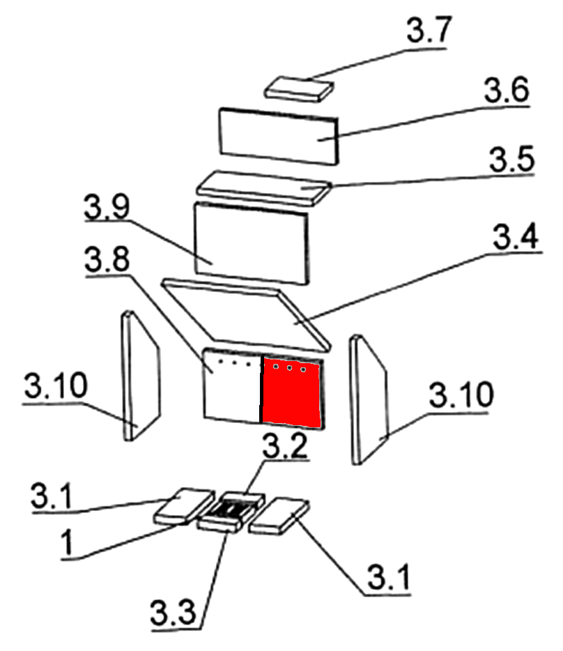
Oranier Stockholm 6 Rückwandstein rechts D

nur 33,53 €
Inhalt: 1 Stück

inkl. MwSt. zzgl. Versandkosten

Vorrätig, Lieferzeit 2-4 Tage


  • Persönliche Fachberatung für alle Ihre Fragen
  • Original Ersatzteil in geprüfter Qualität
  • 14 Tage Geld zurück Garantie für Ihre Bestellung

Weitere Informationen zum Produkt

  • 01016690


Haben Sie Fragen zu diesem Artikel?
Gerne stehe ich Ihnen zur Verfügung und beantworte Ihre Fragen:
Niklas Suter
(040) 28 48 48 - 210
Formular Ersatzteilanfrage
Original Rückwandstein rechts D für den Kaminofen Oranier Stockholm 6 Es gibt... mehr
Produktinformationen "Oranier Stockholm 6 Rückwandstein rechts D"

Original Rückwandstein rechts D für den Kaminofen Oranier Stockholm 6

  • Es gibt verschiedene Ausmauerungen für dieses Modell. Bitte orientieren Sie sich an den Maßen der markanten Feuerraumsteine.
  • Erfahrungsgemäß passt diese Platte in den Brennraum mit folgenden markanten Merkmalen: zweiteilige Rückwand, Bodenstein links (121 x 281 mm), Abschirmung links Warmhaltefach (150/227 x 271 mm)

Oranier Stockholm 6 Rückwandstein rechts Eckdaten:

 

  • Brennraumstein, Feuerraumstein
  • Maße (B/L/H) 213 mm x 240 mm x 25 mm
  • Material Skamol
  • Position 3.4 in der Explosionszeichnung
Ersatzteilart: Rückwandstein
Modell: Stockholm
Material: Skamol
Typ: 6
Weiterführende Links zu "Oranier Stockholm 6 Rückwandstein rechts D"
Zuletzt angesehen