Erfahrungen & Bewertungen zu Cerberus Kaminhaus GmbH
+10 Jahre Erfahrung
Original Ersatzteile mit Qualitätssiegel
Geprüfter Onlineshop
+10 Jahre Erfahrung

Oranier Typ 4654-6 Seitenstein Set D

nur 270,79 €
Inhalt: 1 Stück

inkl. MwSt. zzgl. Versandkosten

Vorrätig, Lieferzeit 2-4 Tage


  • Persönliche Fachberatung für alle Ihre Fragen
  • Original Ersatzteil in geprüfter Qualität
  • 14 Tage Geld zurück Garantie für Ihre Bestellung

Weitere Informationen zum Produkt

  • 01022895


Haben Sie Fragen zu diesem Artikel?
Gerne stehe ich Ihnen zur Verfügung und beantworte Ihre Fragen:
Niklas Suter
(040) 28 48 48 - 210
Formular Ersatzteilanfrage
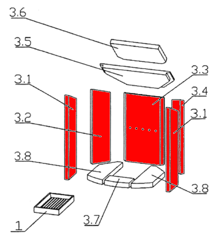
Original Seitenstein Set D für den Kaminofen Oranier Typ 4654-6 Es gibt verschiedene... mehr
Produktinformationen "Oranier Typ 4654-6 Seitenstein Set D"

Original Seitenstein Set D für den Kaminofen Oranier Typ 4654-6

  • Es gibt verschiedene Ausmauerungen für dieses Modell. Bitte orientieren Sie sich an den Maßen der Brennraumsteine.
  • Erfahrungsgemäß wurden diese Feuerraumsteine im Brennraum verbaut, dessen markante Merkmale der Bodenstein vorne (152 x 95 x 30 mm) und der Seitenstein links vorne (121 x 455/520 x 25 mm) sind.
  • 5-teiliges Set

Oranier Typ 4654-6 Seitenstein Eckdaten:

  • 5 Stück
  • Seitenstein Set, seitliche Brennraumsteine Set
  • Material Vermiculite
  • Seitenstein links vorne (121 x 455/520 x 25 mm), Seitenstein links hinten (117 x 457 x 25 mm)
  • Seitenstein rechts vorne (121 x 455/520 x 25 mm), Seitenstein rechts hinten (117 x 457 x 25 mm)
  • gelochter Rückwandstein (218/250 x 414/407 x 25 mm)
  • Positionen 3.1, 3.2, 3.3, 3.4 in der Explosionszeichnung
Ersatzteilart: Seitenstein
Modell: Typ 4654-6
Material: Vermiculite
Weiterführende Links zu "Oranier Typ 4654-6 Seitenstein Set D"
Zuletzt angesehen