Erfahrungen & Bewertungen zu Cerberus Kaminhaus GmbH
+10 Jahre Erfahrung
Original Ersatzteile mit Qualitätssiegel
Geprüfter Onlineshop
+10 Jahre Erfahrung

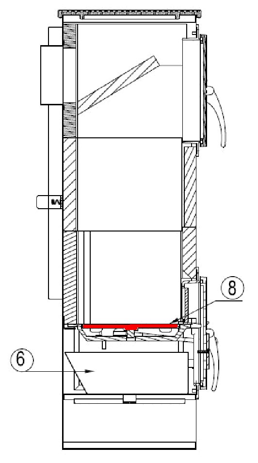
Techfire Helsinki Ascherost

nur 58,62 €
Inhalt: 1 Stück

inkl. MwSt. zzgl. Versandkosten

Lieferzeit 3-6 Wochen


  • Persönliche Fachberatung für alle Ihre Fragen
  • Original Ersatzteil in geprüfter Qualität
  • 14 Tage Geld zurück Garantie für Ihre Bestellung

Weitere Informationen zum Produkt

  • 01035241


Haben Sie Fragen zu diesem Artikel?
Gerne stehe ich Ihnen zur Verfügung und beantworte Ihre Fragen:
Jennifer Ladwig
Original Ascherost für den Kaminofen Techfire Helsinki Techfire Helsinki Ascherost... mehr
Produktinformationen "Techfire Helsinki Ascherost"

Original Ascherost für den Kaminofen Techfire Helsinki

Techfire Helsinki Ascherost Eckdaten:

  • Gussrost, Brennraumrost
  • Maße (H) 30 mm
  • Durchmesser 195 mm
  • Material Guss
  • Position 8 in der Explosionszeichnung
Ersatzteilart: Ascherost
Modell: Helsinki
Material: Guss
Weiterführende Links zu "Techfire Helsinki Ascherost"
Zuletzt angesehen