Erfahrungen & Bewertungen zu Cerberus Kaminhaus GmbH
+10 Jahre Erfahrung
Original Ersatzteile mit Qualitätssiegel
Geprüfter Onlineshop
+10 Jahre Erfahrung

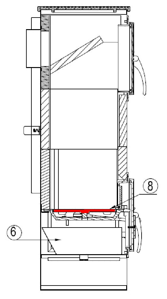
Techfire UNI-1550 Ascherost

nur 58,62 €
Inhalt: 1 Stück

inkl. MwSt. zzgl. Versandkosten

Lieferzeit 3-6 Wochen


  • Persönliche Fachberatung für alle Ihre Fragen
  • Original Ersatzteil in geprüfter Qualität
  • 14 Tage Geld zurück Garantie für Ihre Bestellung

Weitere Informationen zum Produkt

  • 01035350


Haben Sie Fragen zu diesem Artikel?
Gerne stehe ich Ihnen zur Verfügung und beantworte Ihre Fragen:
Niklas Suter
(040) 28 48 48 - 210
Formular Ersatzteilanfrage
Original Ascherost für den Kaminofen Techfire UNI-1550 Techfire UNI-1550 Ascherost... mehr
Produktinformationen "Techfire UNI-1550 Ascherost"

Original Ascherost für den Kaminofen Techfire UNI-1550

Techfire UNI-1550 Ascherost Eckdaten:

  • Feuerrost, Brennraumrost
  • Maße (H) 30 mm
  • Durchmesser 195 mm
  • Material Guss
  • Position 8 in der Explosionszeichnung
Ersatzteilart: Ascherost
Modell: UNI-1550
Material: Guss
Weiterführende Links zu "Techfire UNI-1550 Ascherost"
Zuletzt angesehen