Erfahrungen & Bewertungen zu Cerberus Kaminhaus GmbH
+10 Jahre Erfahrung
Original Ersatzteile mit Qualitätssiegel
Geprüfter Onlineshop
+10 Jahre Erfahrung

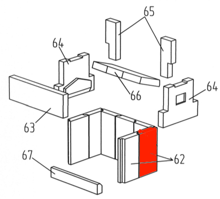
Wamsler KS 109-6 A/A Seitenstein rechts unten hinten

nur 109,09 €
Inhalt: 1 Stück

inkl. MwSt. zzgl. Versandkosten

Lieferzeit 3-6 Wochen


  • Persönliche Fachberatung für alle Ihre Fragen
  • Original Ersatzteil in geprüfter Qualität
  • 14 Tage Geld zurück Garantie für Ihre Bestellung

Weitere Informationen zum Produkt

  • 01014553


Haben Sie Fragen zu diesem Artikel?
Gerne stehe ich Ihnen zur Verfügung und beantworte Ihre Fragen:
Niklas Suter
(040) 28 48 48 - 210
Formular Ersatzteilanfrage
Original Seitenstein rechts unten hinten für den Werkstattofen Wamsler KS 109-6... mehr
Produktinformationen "Wamsler KS 109-6 A/A Seitenstein rechts unten hinten"

Original Seitenstein rechts unten hinten für den Werkstattofen Wamsler KS 109-6 A/A

Wamsler KS 109-6 A/A Seitenstein rechts unten hinten Eckdaten:

 

  • Brennraumstein, Feuerraumstein
  • Schamottstein
  • Maße (B/L/H) 134 mm x 240 mm x 35 mm
  • Material Schamotte
  • Position 62 in der Explosionszeichnung
Ersatzteilart: Seitenstein
Modell: KS
Material: Schamotte
Typ: 109-6 A/A
Weiterführende Links zu "Wamsler KS 109-6 A/A Seitenstein rechts unten hinten"
Zuletzt angesehen