Erfahrungen & Bewertungen zu Cerberus Kaminhaus GmbH
+10 Jahre Erfahrung
Original Ersatzteile mit Qualitätssiegel
Geprüfter Onlineshop
+10 Jahre Erfahrung

Wamsler WO 109-8 Zugumlenkung unten

nur 24,16 €
Inhalt: 1 Stück

inkl. MwSt. zzgl. Versandkosten

Vorrätig, Lieferzeit 2-4 Tage


  • Persönliche Fachberatung für alle Ihre Fragen
  • Original Ersatzteil in geprüfter Qualität
  • 14 Tage Geld zurück Garantie für Ihre Bestellung

Weitere Informationen zum Produkt

  • 01002609


Haben Sie Fragen zu diesem Artikel?
Gerne stehe ich Ihnen zur Verfügung und beantworte Ihre Fragen:
Niklas Suter
(040) 28 48 48 - 210
Formular Ersatzteilanfrage
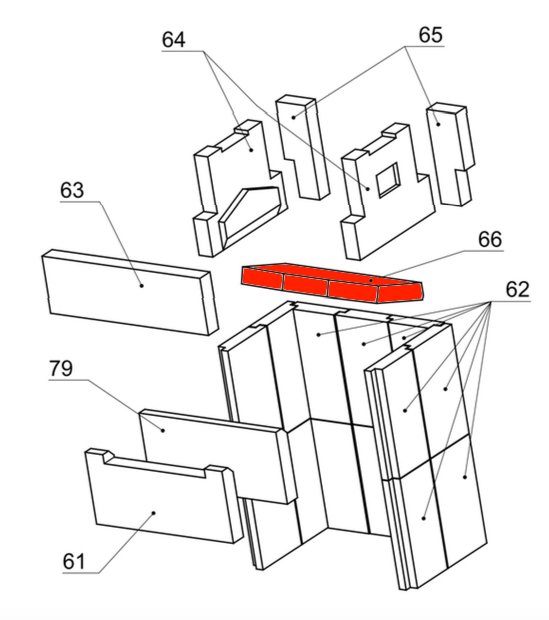
Original Zugumlenkung unten für den Küchenherd Wamsler WO 109-8 Wamsler WO... mehr
Produktinformationen "Wamsler WO 109-8 Zugumlenkung unten"

Original Zugumlenkung unten für den Küchenherd Wamsler WO 109-8

Wamsler WO 109-8 Zugumlenkung unten Eckdaten:

  • Rauchumlenkung, Flammenschild
  • Schamottstein
  • Maße (B/L/H) 346 mm x 170 mm x 35 mm
  • Material Schamotte
  • Position 66 in der Explosionszeichnung
Ersatzteilart: Zugumlenkung
Modell: WO
Material: Schamotte
Typ: 109-8
Weiterführende Links zu "Wamsler WO 109-8 Zugumlenkung unten"
Zuletzt angesehen