Erfahrungen & Bewertungen zu Cerberus Kaminhaus GmbH
+10 Jahre Erfahrung
Original Ersatzteile mit Qualitätssiegel
Geprüfter Onlineshop
+10 Jahre Erfahrung
Wodtke Centro Sichtscheibe

Wodtke Centro Sichtscheibe

nur 353,84 €
Inhalt: 1 Stück

inkl. MwSt. zzgl. Versandkosten

Lieferzeit 3-6 Wochen


  • Persönliche Fachberatung für alle Ihre Fragen
  • Original Ersatzteil in geprüfter Qualität
  • 14 Tage Geld zurück Garantie für Ihre Bestellung

Weitere Informationen zum Produkt

  • 01001099


Haben Sie Fragen zu diesem Artikel?
Gerne stehe ich Ihnen zur Verfügung und beantworte Ihre Fragen:
Niklas Suter
(040) 28 48 48 - 210
Formular Ersatzteilanfrage
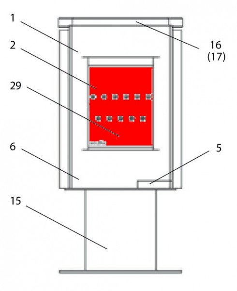
Original Sichtscheibe für den Kaminofen Wodtke Centro K120A Wodtke Centro K120A... mehr
Produktinformationen "Wodtke Centro Sichtscheibe"

Original Sichtscheibe für den Kaminofen Wodtke Centro K120A

Wodtke Centro K120A Sichtscheibe Eckdaten:

  • Glas, Schauglas
  • Material Glas
  • hitzebeständig
  • Position 2 in der Explosionszeichnung
Ersatzteilart: Sichtscheibe
Modell: Centro
Material: Glas
Typ 2: K120A
Weiterführende Links zu "Wodtke Centro Sichtscheibe"
Zuletzt angesehen