Erfahrungen & Bewertungen zu Cerberus Kaminhaus GmbH
+10 Jahre Erfahrung
Original Ersatzteile mit Qualitätssiegel
Geprüfter Onlineshop
+10 Jahre Erfahrung

Wodtke Cookie Seitenstein rechts vorne

nur 60,41 €
Inhalt: 1 Stück

inkl. MwSt. zzgl. Versandkosten

Vorrätig, Lieferzeit 2-4 Tage


  • Persönliche Fachberatung für alle Ihre Fragen
  • Original Ersatzteil in geprüfter Qualität
  • 14 Tage Geld zurück Garantie für Ihre Bestellung

Weitere Informationen zum Produkt

  • 01037432


Haben Sie Fragen zu diesem Artikel?
Gerne stehe ich Ihnen zur Verfügung und beantworte Ihre Fragen:
Niklas Suter
(040) 28 48 48 - 210
Formular Ersatzteilanfrage
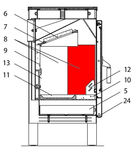
Original Seitenstein rechts vorne für den Kaminofen Wodtke Cookie H 01 Wodtke... mehr
Produktinformationen "Wodtke Cookie Seitenstein rechts vorne"

Original Seitenstein rechts vorne für den Kaminofen Wodtke Cookie H 01

Wodtke Cookie H 01 Seitenstein rechts vorne Eckdaten:

  • Brennraumstein, Feuerraumstein
  • Maße (B/L/H) 183 mm x 360 mm x 30 mm
  • Material Vermiculite
  • Position 8 in der Explosionszeichnung
Ersatzteilart: Seitenstein
Modell: Cookie
Material: Vermiculite
Typ 2: H 01
Weiterführende Links zu "Wodtke Cookie Seitenstein rechts vorne"
Zuletzt angesehen