Erfahrungen & Bewertungen zu Cerberus Kaminhaus GmbH
+10 Jahre Erfahrung
Original Ersatzteile mit Qualitätssiegel
Geprüfter Onlineshop
+10 Jahre Erfahrung

Wodtke Copa Sichtscheibe

nur 551,57 €
Inhalt: 1 Stück

inkl. MwSt. zzgl. Versandkosten

Lieferzeit 3-6 Wochen


  • Persönliche Fachberatung für alle Ihre Fragen
  • Original Ersatzteil in geprüfter Qualität
  • 14 Tage Geld zurück Garantie für Ihre Bestellung

Weitere Informationen zum Produkt

  • 01001086


Haben Sie Fragen zu diesem Artikel?
Gerne stehe ich Ihnen zur Verfügung und beantworte Ihre Fragen:
Niklas Suter
(040) 28 48 48 - 210
Formular Ersatzteilanfrage
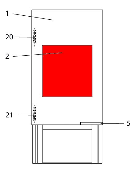
Original Sichtscheibe für den Kaminofen Wodtke Copa Wodtke Copa Sichtscheibe... mehr
Produktinformationen "Wodtke Copa Sichtscheibe"

Original Sichtscheibe für den Kaminofen Wodtke Copa

Wodtke Copa Sichtscheibe Eckdaten:

  • Türglas, Scheibe
  • Maße (B/L/H) 440 mm x 400 mm x 4 mm
  • Material Glas
  • hitzebeständig
  • Position 2 in der Explosionszeichnung
Ersatzteilart: Sichtscheibe
Modell: Copa
Material: Glas
Weiterführende Links zu "Wodtke Copa Sichtscheibe"
Zuletzt angesehen