Erfahrungen & Bewertungen zu Cerberus Kaminhaus GmbH
+10 Jahre Erfahrung
Original Ersatzteile mit Qualitätssiegel
Geprüfter Onlineshop
+10 Jahre Erfahrung

Wodtke dadoo Gasdruckfeder

nur 168,96 €
Inhalt: 1 Stück

inkl. MwSt. zzgl. Versandkosten

Lieferzeit 3-6 Wochen


  • Persönliche Fachberatung für alle Ihre Fragen
  • Original Ersatzteil in geprüfter Qualität
  • 14 Tage Geld zurück Garantie für Ihre Bestellung

Weitere Informationen zum Produkt

  • 01001926


Haben Sie Fragen zu diesem Artikel?
Gerne stehe ich Ihnen zur Verfügung und beantworte Ihre Fragen:
Sarah Hackbarth
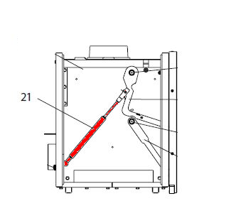
Original Feder für den Kaminofen Wodtke dadoo Wodtke dadoo Feder Eckdaten:... mehr
Produktinformationen "Wodtke dadoo Gasdruckfeder"

Original Feder für den Kaminofen Wodtke dadoo

Wodtke dadoo Feder Eckdaten:

  • Schließfeder, Zugfeder
  • Länge 49,3 cm
  • Material Metall
  • Position 21 in der Explosionszeichnung
Ersatzteilart: Feder
Modell: dadoo
Länge in cm: 49,3
Material: Metall
Weiterführende Links zu "Wodtke dadoo Gasdruckfeder"
Zuletzt angesehen