Erfahrungen & Bewertungen zu Cerberus Kaminhaus GmbH
+10 Jahre Erfahrung
Original Ersatzteile mit Qualitätssiegel
Geprüfter Onlineshop
+10 Jahre Erfahrung

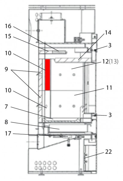
Wodtke Dance Seitenstein rechts hinten oben

nur 44,30 €
Inhalt: 1 Stück

inkl. MwSt. zzgl. Versandkosten

Vorrätig, Lieferzeit 2-4 Tage


  • Persönliche Fachberatung für alle Ihre Fragen
  • Original Ersatzteil in geprüfter Qualität
  • 14 Tage Geld zurück Garantie für Ihre Bestellung

Weitere Informationen zum Produkt

  • 01037464


Haben Sie Fragen zu diesem Artikel?
Gerne stehe ich Ihnen zur Verfügung und beantworte Ihre Fragen:
Sarah Hackbarth
Original Seitenstein rechts hinten oben für den Kaminofen Wodtke Dance Wodtke... mehr
Produktinformationen "Wodtke Dance Seitenstein rechts hinten oben"

Original Seitenstein rechts hinten oben für den Kaminofen Wodtke Dance

Wodtke Dance Seitenstein rechts hinten oben Eckdaten:

 

  • Brennraumstein, Feuerraumstein
  • Vermiculitestein
  • Maße (B/L/H) 230 mm x 84/110 mm x 25 mm
  • Material Vermiculite
  • Position 10 in der Explosionszeichnung
Ersatzteilart: Seitenstein
Modell: Dance
Material: Vermiculite
Weiterführende Links zu "Wodtke Dance Seitenstein rechts hinten oben"
Zuletzt angesehen