Erfahrungen & Bewertungen zu Cerberus Kaminhaus GmbH
+10 Jahre Erfahrung
Original Ersatzteile mit Qualitätssiegel
Geprüfter Onlineshop
+10 Jahre Erfahrung

Dieses Ersatzteil ist nur noch 1x verfügbar.

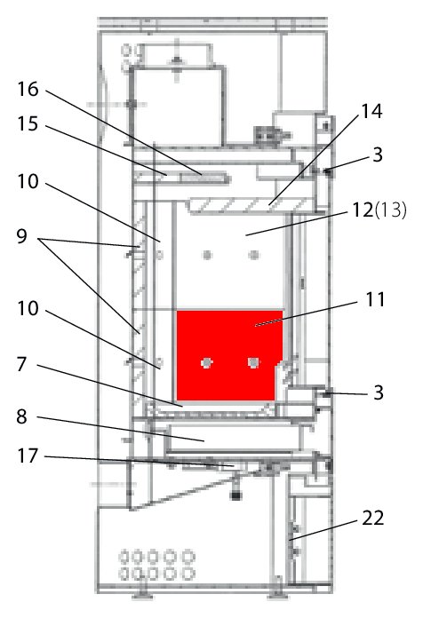
Wodtke Dance Seitenstein rechts vorne unten

nur 64,25 €
Inhalt: 1 Stück

inkl. MwSt. zzgl. Versandkosten

Vorrätig, Lieferzeit 2-4 Tage


  • Persönliche Fachberatung für alle Ihre Fragen
  • Original Ersatzteil in geprüfter Qualität
  • 14 Tage Geld zurück Garantie für Ihre Bestellung

Weitere Informationen zum Produkt

  • 01037548


Haben Sie Fragen zu diesem Artikel?
Gerne stehe ich Ihnen zur Verfügung und beantworte Ihre Fragen:
Niklas Suter
(040) 28 48 48 - 210
Formular Ersatzteilanfrage
Original Seitenstein rechts vorne unten für den Kaminofen Wodtke Dance KK99... mehr
Produktinformationen "Wodtke Dance Seitenstein rechts vorne unten"

Original Seitenstein rechts vorne unten für den Kaminofen Wodtke Dance KK99

Wodtke Dance KK99 Seitenstein rechts vorne unten Eckdaten:

  • Brennraumstein, Feuerraumstein
  • Vermiculitestein
  • Maße (B/L/H) 236 mm x 230 mm x 25 mm
  • Material Vermiculite
  • Position 11 in der Explosionszeichnung
Ersatzteilart: Seitenstein
Modell: Dance
Material: Vermiculite
Typ 2: KK99
Weiterführende Links zu "Wodtke Dance Seitenstein rechts vorne unten"
Zuletzt angesehen